专利数据库
统计分析
产业报告
专利数据监控
产业人才
行业动态
产业政策法规
维权援助
个人中心
详情
文本
图像
标题
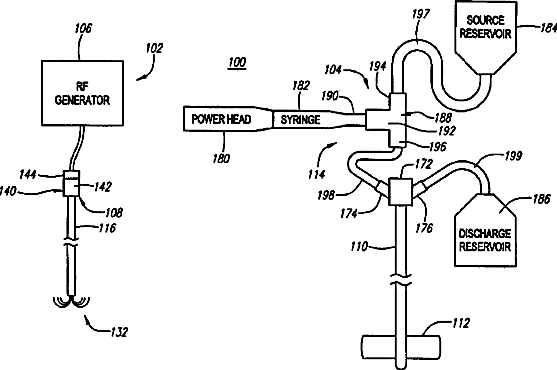
Radio frequency ablation cooling shield
授权日
2013-12-31
公开(公告)号
US8617158
申请日
2010-08-03
公开(公告)日
2013-12-31
当前申请(专利权)人
BOSTON SCIENTIFIC SCIMED, INC.
发明人
GARABEDIAN, ROBERT J. | RIOUX, ROBERT F.
简单同族
EP1620028A1 | US10524855 | US20040220562A1 | US20060271036A1 | US20110022044A1 | US20140324042A1 | US20170181791A1 | US7101387 | US8617158 | US9526561 | WO2004098427A1
简单同族成员数量
11
简单同族被引用专利总数
167
诉讼案件数
0
法律状态/事件
未缴年费
抱歉,您的浏览器不支持PDF预览,请点击链接下载PDF文件