专利数据库
统计分析
产业报告
专利数据监控
产业人才
行业动态
产业政策法规
维权援助
个人中心
详情
文本
图像
标题
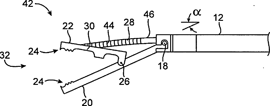
Methods and apparatus for securing and deploying tissue anchors
授权日
1900-01-01
公开(公告)号
US20060271101A1
申请日
2005-09-30
公开(公告)日
2006-11-30
当前申请(专利权)人
USGI MEDICAL INC.
发明人
SAADAT, VAHID | EWERS, RICHARD C. | LAM, CANG C.
简单同族
US20060271101A1 | US8628541
简单同族成员数量
2
简单同族被引用专利总数
111
诉讼案件数
0
法律状态/事件
授权 | 质押 | 权利转移
抱歉,您的浏览器不支持PDF预览,请点击链接下载PDF文件