专利数据库
统计分析
产业报告
专利数据监控
产业人才
行业动态
产业政策法规
维权援助
个人中心
详情
文本
图像
标题
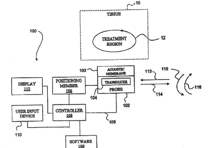
Method of diagnosis and treatment of tumors using high intensity focused ultrasound
授权日
1900-01-01
公开(公告)号
US20130018260A1
申请日
2012-08-10
公开(公告)日
2013-01-17
当前申请(专利权)人
FOCUS SURGERY, INC.
发明人
SANGHVI, NARENDRA T. | GUHA, CHANDAN | FEDEWA, RUSSELL JAMES | CARLSON, ROY FRANCIS | SEIP, RALF | CHEN, WO-HSING
简单同族
CA2706563A1 | CA2706563C | EP2227147A1 | JP2011508870A | JP2011508870A5 | JP2015038492A | JP6046094B2 | US20100092424A1 | US20130018260A1 | US20140378832A1 | US20170014651A1 | US9457202 | US9907982 | WO2009070245A2
简单同族成员数量
14
简单同族被引用专利总数
42
诉讼案件数
0
法律状态/事件
撤回
抱歉,您的浏览器不支持PDF预览,请点击链接下载PDF文件