专利数据库
统计分析
产业报告
专利数据监控
产业人才
行业动态
产业政策法规
维权援助
个人中心
详情
文本
图像
标题
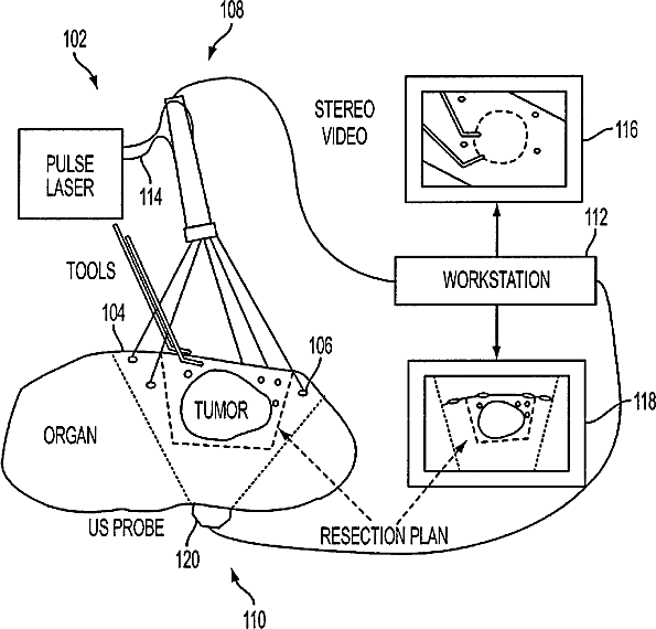
Photoacoustic tracking and registration in interventional ultrasound
授权日
1900-01-01
公开(公告)号
US20150031990A1
申请日
2013-03-11
公开(公告)日
2015-01-29
当前申请(专利权)人
THE JOHNS HOPKINS UNIVERSITY
发明人
BOCTOR, EMAD M. | TAYLOR, RUSSELL H. | KANG, JIN U.
简单同族
US20150031990A1 | WO2013134782A1
简单同族成员数量
2
简单同族被引用专利总数
54
诉讼案件数
0
法律状态/事件
实质审查 | 权利转移
抱歉,您的浏览器不支持PDF预览,请点击链接下载PDF文件