专利数据库
统计分析
产业报告
专利数据监控
产业人才
行业动态
产业政策法规
维权援助
个人中心
详情
文本
图像
标题
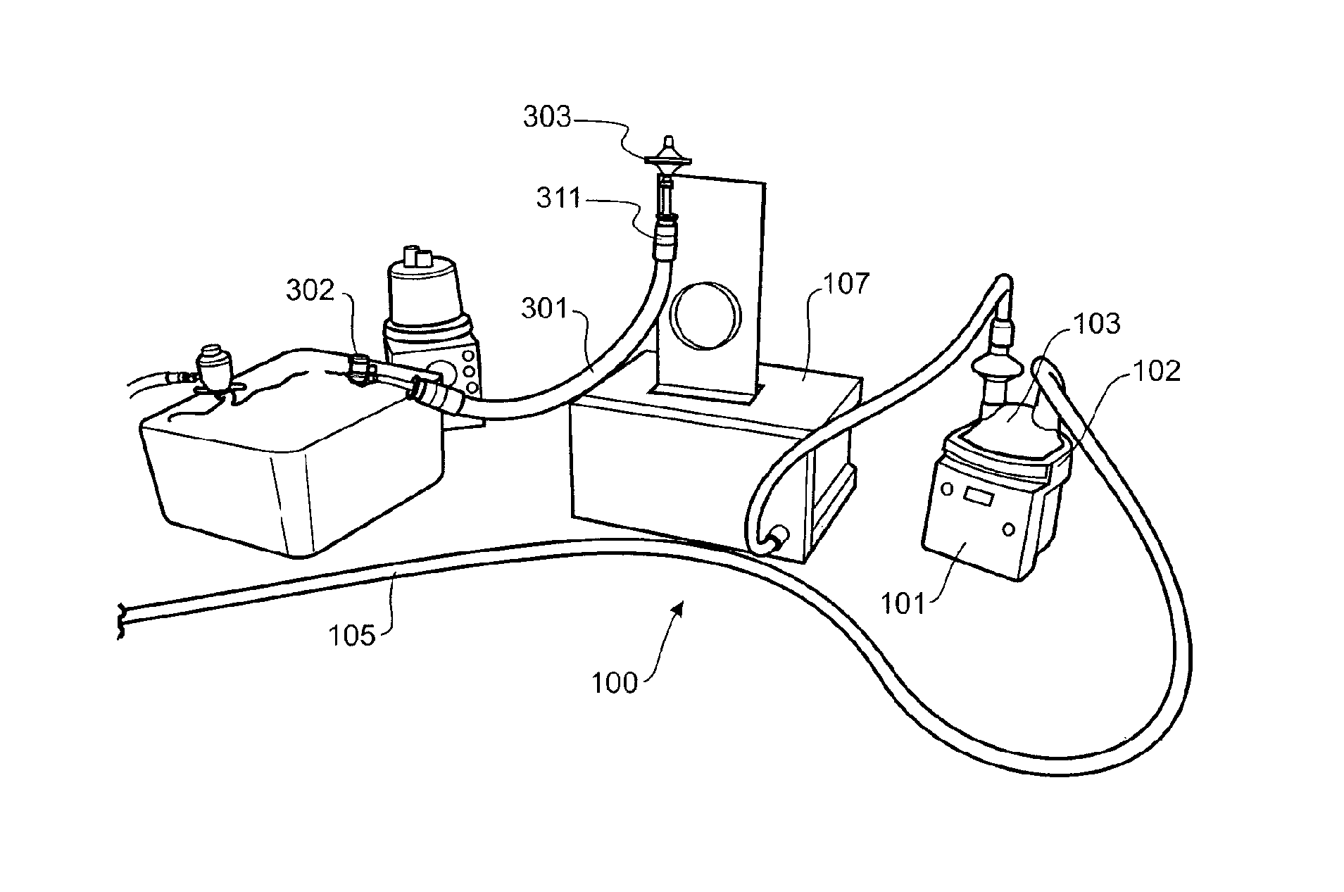
Relating to systems for laparoscopic surgery
授权日
2016-10-25
公开(公告)号
US9474512
申请日
2010-12-20
公开(公告)日
2016-10-25
当前申请(专利权)人
FISHER & PAYKEL HEALTHCARE LIMITED
发明人
BLACKHURST, MICHAEL JOSEPH | GORDON, JAMES ALEXANDER | HARWOOD, JONATHAN DAVID | BAIN, DAVID JOHN
简单同族
BR212012015601U2 | CN203315068U | DE212010000199U1 | GB201213021D0 | GB201602952D0 | GB201613042D0 | GB2489183A | GB2489183A8 | GB2489183B | GB2534487A | GB2534487B | GB2538425A | GB2538425B | US10426902 | US20130131580A1 | US20170136195A1 | US20190351157A1 | US9474512 | WO2011078701A1
简单同族成员数量
19
简单同族被引用专利总数
26
诉讼案件数
0
法律状态/事件
授权 | 权利转移
抱歉,您的浏览器不支持PDF预览,请点击链接下载PDF文件