专利数据库
统计分析
产业报告
专利数据监控
产业人才
行业动态
产业政策法规
维权援助
个人中心
详情
文本
图像
标题
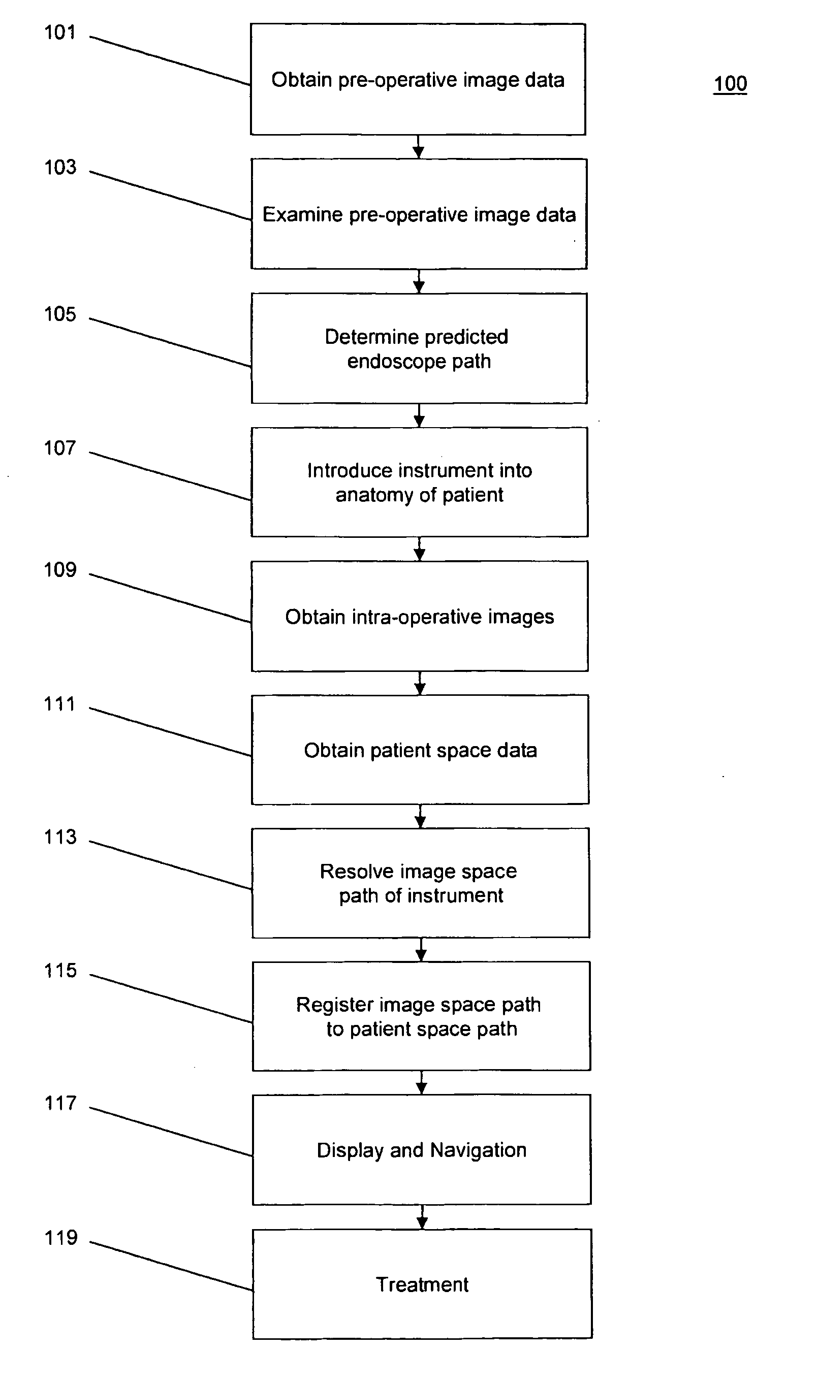
System, method and devices for navigated flexible endoscopy
授权日
1900-01-01
公开(公告)号
US20070055128A1
申请日
2006-08-24
公开(公告)日
2007-03-08
当前申请(专利权)人
PHILIPS ELECTRONICS LTD
发明人
GLOSSOP, NEIL DAVID
简单同族
CA2620196A1 | EP1924197A2 | EP1924197A4 | EP1924197B1 | US20070055128A1 | US20170290491A1 | US9661991 | WO2007025081A2 | WO2007025081A3 | WO2007025081A8
简单同族成员数量
10
简单同族被引用专利总数
161
诉讼案件数
0
法律状态/事件
授权 | 权利转移
抱歉,您的浏览器不支持PDF预览,请点击链接下载PDF文件