专利数据库
统计分析
产业报告
专利数据监控
产业人才
行业动态
产业政策法规
维权援助
个人中心
详情
文本
图像
标题
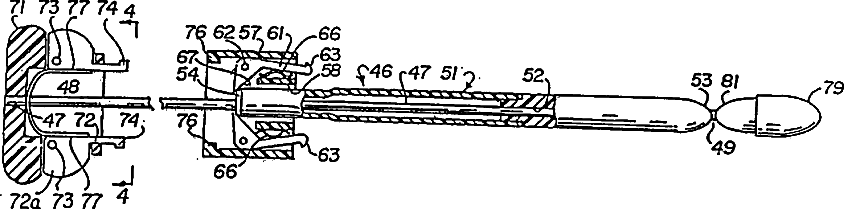
Apparatus and method for dissecting tissue layers
授权日
1900-01-01
公开(公告)号
US20080058854A1
申请日
2007-10-22
公开(公告)日
2008-03-06
当前申请(专利权)人
GENERAL SURGICAL INNOVATIONS, INC.
发明人
KIETURAKIS, MACIEJ J. | MOLLENAUER, KENNETH H. | ECHEVERRY, JAN M. | HOWELL, THOMAS A. | JERVIS, JAMES E. | KAYAN, HELMUT | ROBINSON, JANINE C.
简单同族
US20030191490A1 | US20040167557A1 | US20070118170A1 | US20080058854A1 | US6540764 | US6866676 | US7179272 | US8282665
简单同族成员数量
8
简单同族被引用专利总数
192
诉讼案件数
0
法律状态/事件
未缴年费 | 权利转移
抱歉,您的浏览器不支持PDF预览,请点击链接下载PDF文件