专利数据库
统计分析
产业报告
专利数据监控
产业人才
行业动态
产业政策法规
维权援助
个人中心
详情
文本
图像
标题
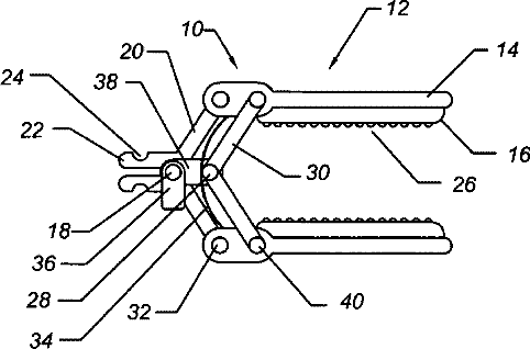
Method and apparatus for vascular and visceral clipping
授权日
1900-01-01
公开(公告)号
US20080132915A1
申请日
2008-01-28
公开(公告)日
2008-06-05
当前申请(专利权)人
DAMAGE CONTROL SURGICAL TECHNOLOGIES, INC.
发明人
BUCKMAN, ROBERT F. | LENKER, JAY A. | KOLEHMAINEN, DONALD J.
简单同族
AU2003272314A1 | AU2003272314A8 | US20050251183A1 | US20080132915A1 | US20130138127A1 | US7322995 | US8187290 | WO2004023976A2 | WO2004023976A3
简单同族成员数量
9
简单同族被引用专利总数
370
诉讼案件数
0
法律状态/事件
未缴年费
抱歉,您的浏览器不支持PDF预览,请点击链接下载PDF文件