专利数据库
统计分析
产业报告
专利数据监控
产业人才
行业动态
产业政策法规
维权援助
个人中心
详情
文本
图像
标题
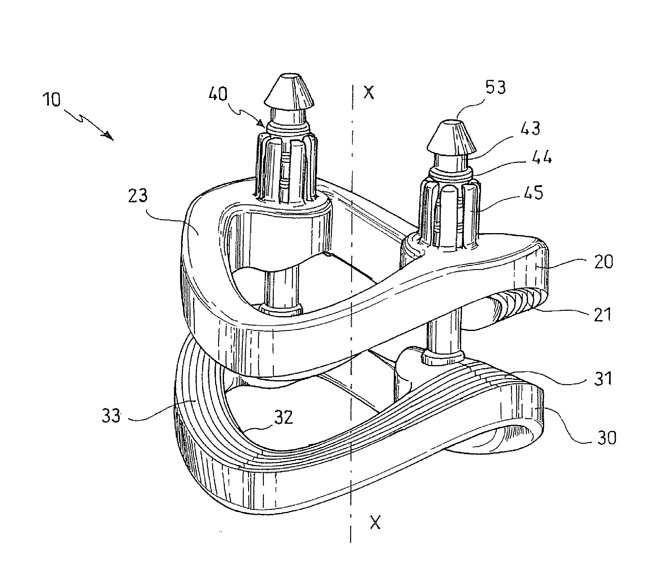
Anastomotic device
授权日
1900-01-01
公开(公告)号
US20100063520A1
申请日
2007-02-14
公开(公告)日
2010-03-11
当前申请(专利权)人
ETHICON ENDO-SURGERY, INC.
发明人
BILOTTI, FEDERICO
简单同族
AT535198T | CN101394797A | CN101394797B | EP1991135A1 | EP1991135B1 | EP2335607A1 | IT1374490B1 | ITMI2006000410A1 | JP2009528861A | US20100063520A1 | US8795300 | WO2007101526A1 | WO2007101526A8
简单同族成员数量
13
简单同族被引用专利总数
29
诉讼案件数
0
法律状态/事件
授权 | 权利转移
抱歉,您的浏览器不支持PDF预览,请点击链接下载PDF文件