专利数据库
统计分析
产业报告
专利数据监控
产业人才
行业动态
产业政策法规
维权援助
个人中心
详情
文本
图像
标题
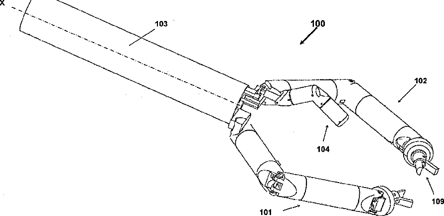
Robotic apparatus for minimally invasive surgery
授权日
1900-01-01
公开(公告)号
US20130131695A1
申请日
2011-04-22
公开(公告)日
2013-05-23
当前申请(专利权)人
SCUOLA SUPERIORE DI STUDI UNIVERSITARI E DI PERFEZIONAMENTO SANT'ANNA
发明人
SCARFOGLIERO, UMBERTO | QUAGLIA, CLAUDIO | PICCIGALLO, MARCO | TOGNARELLI, SELENE | VALDASTRI, PIETRO | MENCIASSI, ARIANNA | DARIO, PAOLO
简单同族
EP2563261A1 | EP2563261B1 | IT1399603B1 | ITFI2010000075A1 | KR1020130094721A | US20130131695A1 | US9028468 | WO2011135503A1
简单同族成员数量
8
简单同族被引用专利总数
148
诉讼案件数
0
法律状态/事件
未缴年费 | 权利转移
抱歉,您的浏览器不支持PDF预览,请点击链接下载PDF文件