专利数据库
统计分析
产业报告
专利数据监控
产业人才
行业动态
产业政策法规
维权援助
个人中心
详情
文本
图像
标题
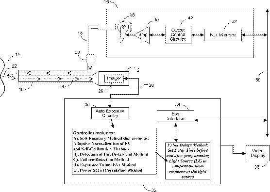
Method and apparatus for protection from high intensity light
授权日
2014-11-04
公开(公告)号
US8878920
申请日
2011-07-12
公开(公告)日
2014-11-04
当前申请(专利权)人
KARL STORZ IMAGING, INC.
发明人
OVOD, VLADIMIR, I.
简单同族
CA2777974A1 | CA2777974C | EP2547093A1 | EP2547093B1 | JP2013017819A | JP5745469B2 | US20130016200A1 | US20150116470A1 | US8878920 | US9770163
简单同族成员数量
10
简单同族被引用专利总数
22
诉讼案件数
0
法律状态/事件
授权 | 权利转移
抱歉,您的浏览器不支持PDF预览,请点击链接下载PDF文件