专利数据库
统计分析
产业报告
专利数据监控
产业人才
行业动态
产业政策法规
维权援助
个人中心
详情
文本
图像
标题
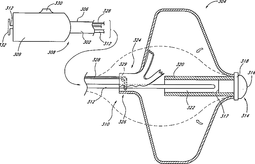
System and method for delivering a left atrial appendage containment device
授权日
1900-01-01
公开(公告)号
US20050177182A1
申请日
2004-12-03
公开(公告)日
2005-08-11
当前申请(专利权)人
BOSTON SCIENTIFIC SCIMED, INC.
发明人
VAN DER BURG, ERIK J. | KUME, STEWART M.
简单同族
EP1768604A2 | EP1768604B1 | EP3345577A1 | ES2661071T3 | US10426589 | US20050177182A1 | US20130110154A1 | WO2006126979A2 | WO2006126979A3
简单同族成员数量
9
简单同族被引用专利总数
129
诉讼案件数
0
法律状态/事件
撤回 | 权利转移
抱歉,您的浏览器不支持PDF预览,请点击链接下载PDF文件