专利数据库
统计分析
产业报告
专利数据监控
产业人才
行业动态
产业政策法规
维权援助
个人中心
详情
文本
图像
标题
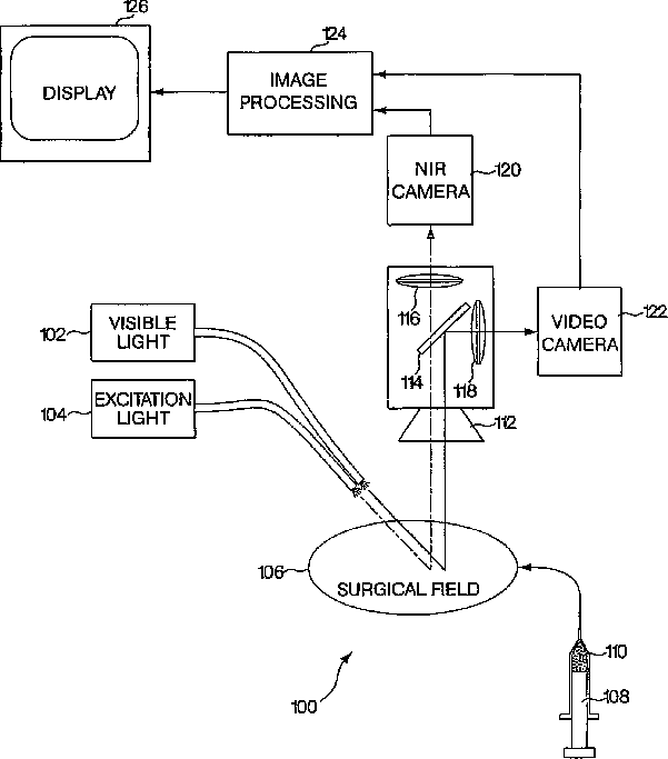
Medical imaging systems
授权日
1900-01-01
公开(公告)号
US20050182321A1
申请日
2003-03-11
公开(公告)日
2005-08-18
当前申请(专利权)人
BETH ISRAEL DEACONESS MEDICAL CENTER
发明人
FRANGIONI, JOHN V
简单同族
AU2003218116A1 | EP1485011A1 | EP1485011B1 | ES2406697T3 | US20050182321A1 | US8229548 | WO2003077749A2 | WO2003077749A3
简单同族成员数量
8
简单同族被引用专利总数
196
诉讼案件数
0
法律状态/事件
授权 | 权利转移
抱歉,您的浏览器不支持PDF预览,请点击链接下载PDF文件