专利数据库
统计分析
产业报告
专利数据监控
产业人才
行业动态
产业政策法规
维权援助
个人中心
详情
文本
图像
标题
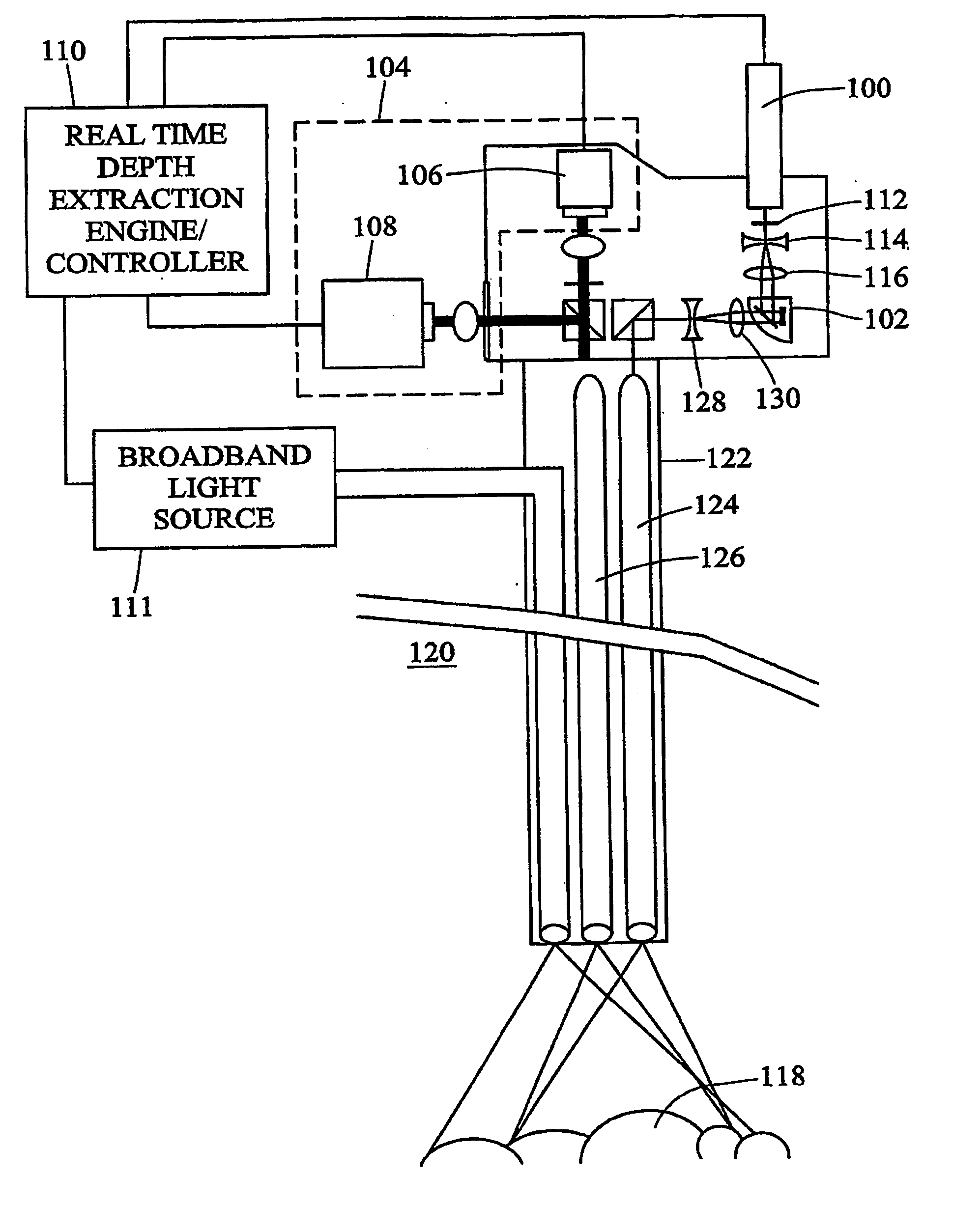
Methods and systems for laser based real-time structured light depth extraction
授权日
1900-01-01
公开(公告)号
US20050219552A1
申请日
2003-06-09
公开(公告)日
2005-10-06
当前申请(专利权)人
UNIVERSITY OF NORTH CAROLINA AT CHAPEL HILL
发明人
ACKERMAN, JERMY D. | KELLER, KURTIS P.
简单同族
AU2003253626A1 | AU2003253626A8 | US20050219552A1 | US7385708 | WO2003105289A2 | WO2003105289A3
简单同族成员数量
6
简单同族被引用专利总数
219
诉讼案件数
0
法律状态/事件
未缴年费 | 权利转移
抱歉,您的浏览器不支持PDF预览,请点击链接下载PDF文件