专利数据库
统计分析
产业报告
专利数据监控
产业人才
行业动态
产业政策法规
维权援助
个人中心
详情
文本
图像
标题
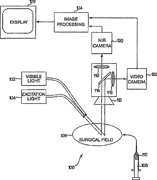
Multi-channel medical imaging system
授权日
1900-01-01
公开(公告)号
US20140073885A1
申请日
2013-11-18
公开(公告)日
2014-03-13
当前申请(专利权)人
BETH ISRAEL DEACONESS MEDICAL CENTER
发明人
FRANGIONI, JOHN V.
简单同族
US20100262017A1 | US20140073885A1 | US8620410 | US9326666
简单同族成员数量
4
简单同族被引用专利总数
63
诉讼案件数
0
法律状态/事件
授权
抱歉,您的浏览器不支持PDF预览,请点击链接下载PDF文件