专利数据库
统计分析
产业报告
专利数据监控
产业人才
行业动态
产业政策法规
维权援助
个人中心
详情
文本
图像
标题
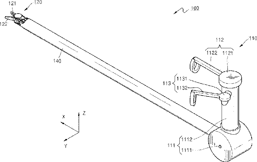
Surgical instrument
授权日
1900-01-01
公开(公告)号
US20140350570A1
申请日
2012-11-08
公开(公告)日
2014-11-27
当前申请(专利权)人
LIVSMED INC.
发明人
LEE, JUNG JOO
简单同族
CN104093370A | CN104093370B | CN106943165A | EP2783643A1 | EP2783643A4 | EP2783643B1 | EP2807989A1 | IL232772A | IL232772D0 | IL262860D0 | JP2015501697A | JP2017205564A | JP2020000900A | JP2020014862A | JP6475987B2 | US10695141 | US20140350570A1 | US20200121406A1 | US20200146766A1 | WO2013077571A1
简单同族成员数量
20
简单同族被引用专利总数
53
诉讼案件数
0
法律状态/事件
授权 | 权利转移
抱歉,您的浏览器不支持PDF预览,请点击链接下载PDF文件