专利数据库
统计分析
产业报告
专利数据监控
产业人才
行业动态
产业政策法规
维权援助
个人中心
详情
文本
图像
标题
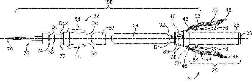
Surgical adhesive applicator
授权日
1900-01-01
公开(公告)号
US20150119824A1
申请日
2014-04-22
公开(公告)日
2015-04-30
当前申请(专利权)人
ADVANCED MEDICAL SOLUTIONS (PLYMOUTH) LIMITED
发明人
STENTON, RICHARD J.
简单同族
CY1113501T1 | DK2034903T3 | EP2034903A2 | EP2034903B1 | ES2398589T3 | HK1127269A | HK1127269A1 | PT2034903E | US20080046004A1 | US20150119824A1 | US8702751 | WO2008001067A2 | WO2008001067A3
简单同族成员数量
13
简单同族被引用专利总数
48
诉讼案件数
0
法律状态/事件
撤回
抱歉,您的浏览器不支持PDF预览,请点击链接下载PDF文件