专利数据库
统计分析
产业报告
专利数据监控
产业人才
行业动态
产业政策法规
维权援助
个人中心
详情
文本
图像
标题
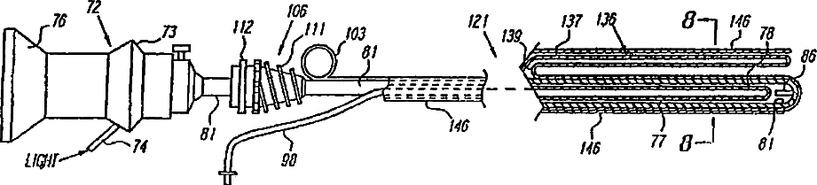
Extraluminal balloon dissection
授权日
2008-01-01
公开(公告)号
US7314475
申请日
2005-11-14
公开(公告)日
2008-01-01
当前申请(专利权)人
GENERAL SURGICAL INNOVATIONS, INC.
发明人
FOGARTY, THOMAS J. | HERMANN, GEORGE D. | ECHEVERRY, JAN M. | MOLLENAUER, KENNETH H.
简单同族
CA2251120A1 | CA2251120C | EP0900097A1 | EP0900097A4 | JP2000505345A | JP3332387B2 | US20010029350A1 | US20030009187A1 | US20040172052A1 | US20060106414A1 | US20080097507A1 | US20100004670A1 | US20110313442A1 | US20130060273A1 | US5690668 | US5814060 | US5968066 | US6013090 | US6447529 | US6764497 | US6989018 | US7314475 | US8016850 | US8062323 | US8323304 | US8500770 | WO1997037701A1
简单同族成员数量
27
简单同族被引用专利总数
225
诉讼案件数
0
法律状态/事件
未缴年费 | 权利转移
抱歉,您的浏览器不支持PDF预览,请点击链接下载PDF文件