专利数据库
统计分析
产业报告
专利数据监控
产业人才
行业动态
产业政策法规
维权援助
个人中心
详情
文本
图像
标题
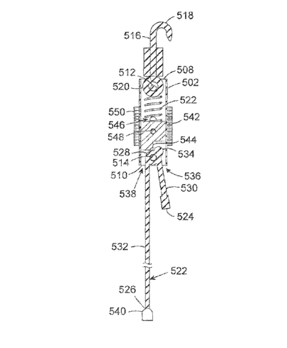
System for intra-abdominally moving an organ
授权日
2017-10-10
公开(公告)号
US9782160
申请日
2017-05-24
公开(公告)日
2017-10-10
当前申请(专利权)人
FREEHOLD SURGICAL, INC.
发明人
SCOTT, J. STEPHEN | SMITH, JEFFREY
简单同族
AU2011375467A1 | AU2011375467B2 | CA2846497A1 | CA2846497C | EP2750613A1 | EP2750613A4 | EP2750613B1 | US10524773 | US20140194681A1 | US20160143634A1 | US20170035408A1 | US20170252029A1 | US20180028168A1 | US9451941 | US9687218 | US9782160 | WO2013028145A1
简单同族成员数量
17
简单同族被引用专利总数
27
诉讼案件数
0
法律状态/事件
授权 | 权利转移
抱歉,您的浏览器不支持PDF预览,请点击链接下载PDF文件