专利数据库
统计分析
产业报告
专利数据监控
产业人才
行业动态
产业政策法规
维权援助
个人中心
详情
文本
图像
标题
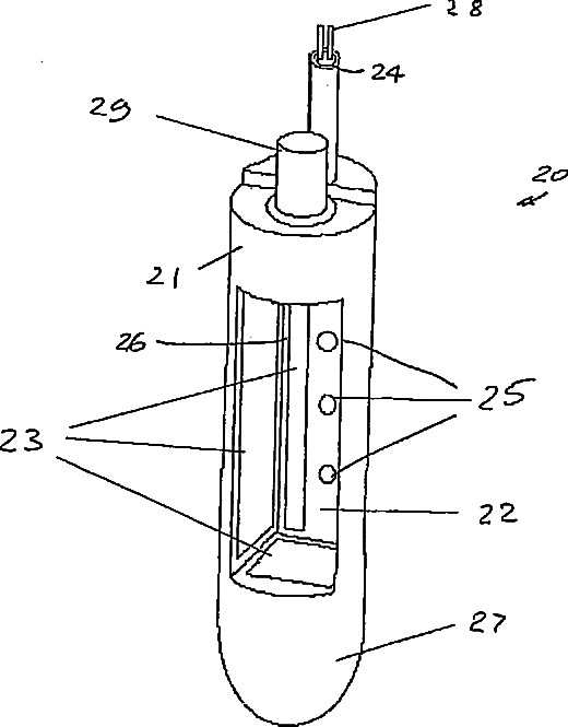
Apparatus for use in the prophylaxis or treatment of tissue
授权日
1900-01-01
公开(公告)号
US20070179535A1
申请日
2006-09-22
公开(公告)日
2007-08-02
当前申请(专利权)人
UNIVERSITY COLLEGE CORK - NATIONAL UNIVERSITY OF IRELAND, CORK
发明人
MORRISSEY, ANTHONY | SODEN, DECLAN | O'SULLIVAN, GERALD | COLLINS, CHRISTOPHER | DUNNE, COLUM | PIGGOTT, JOHN | PRIOR, DENTON A.M | WATSON, ANDREW | MCGEEHIN, PETER
简单同族
EP1727592A1 | EP1727592B1 | ES2629960T3 | IE20050165A1 | JP2007530129A | JP4899020B2 | US20070179535A1 | US8545497 | WO2005092433A1
简单同族成员数量
9
简单同族被引用专利总数
49
诉讼案件数
0
法律状态/事件
授权 | 权利转移
抱歉,您的浏览器不支持PDF预览,请点击链接下载PDF文件