专利数据库
统计分析
产业报告
专利数据监控
产业人才
行业动态
产业政策法规
维权援助
个人中心
详情
文本
图像
标题
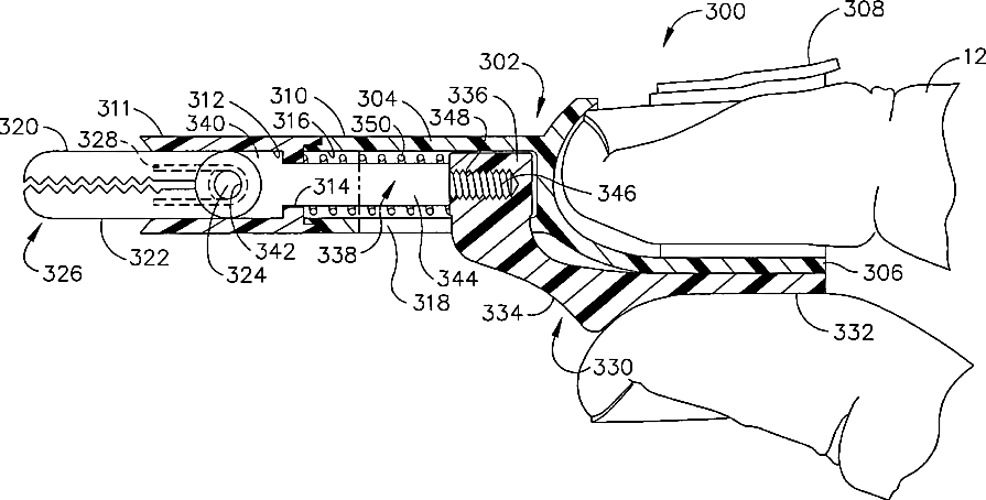
Fingertip Surgical Instrument
授权日
1900-01-01
公开(公告)号
US20080167680A1
申请日
2007-01-10
公开(公告)日
2008-07-10
当前申请(专利权)人
ETHICON ENDO-SURGERY, INC.
发明人
VOEGELE, JAMES W. | GILL, ROBERT P. | POLL, WAYNE L.
简单同族
US20080167680A1
简单同族成员数量
1
简单同族被引用专利总数
24
诉讼案件数
0
法律状态/事件
撤回 | 权利转移
抱歉,您的浏览器不支持PDF预览,请点击链接下载PDF文件