专利数据库
统计分析
产业报告
专利数据监控
产业人才
行业动态
产业政策法规
维权援助
个人中心
详情
文本
图像
标题
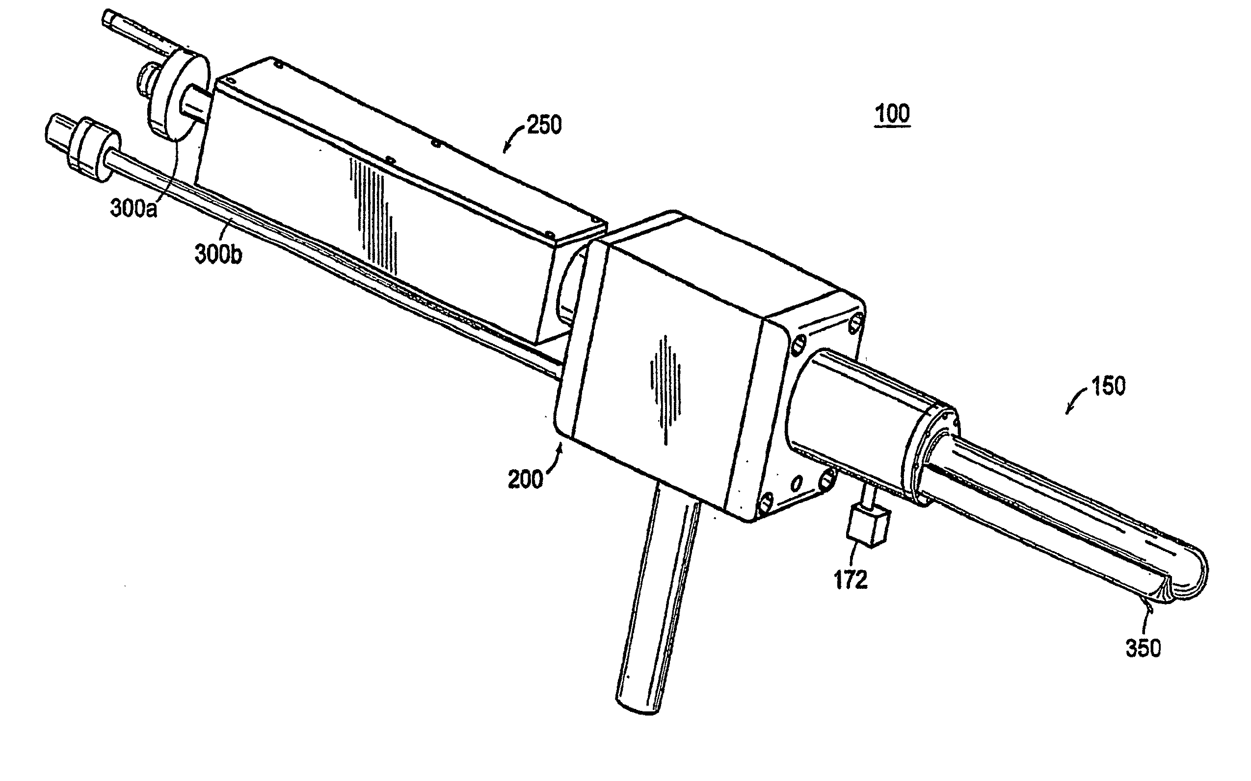
Apparatus for insertion of a medical device within a body during a medical imaging process and devices and methods related thereto
授权日
1900-01-01
公开(公告)号
US20100056900A1
申请日
2007-03-14
公开(公告)日
2010-03-04
当前申请(专利权)人
THE JOHNS HOPKINS UNIVERSITY
发明人
WHITCOMB, LOUIS L. | KRIEGER, AXEL | SUSIL, ROBERT CHARLES | FICHTINGER, GABOR | ATALAR, ERGIN | IORDACHITA, IULIAN I.
简单同族
CA2646363A1 | CA2646363C | EP2001367A2 | EP2001367A4 | US20100056900A1 | US20140039298A1 | US8521257 | US9968280 | WO2007106558A2 | WO2007106558A3
简单同族成员数量
10
简单同族被引用专利总数
105
诉讼案件数
0
法律状态/事件
授权 | 质押 | 许可 | 权利转移
抱歉,您的浏览器不支持PDF预览,请点击链接下载PDF文件