专利数据库
统计分析
产业报告
专利数据监控
产业人才
行业动态
产业政策法规
维权援助
个人中心
详情
文本
图像
标题
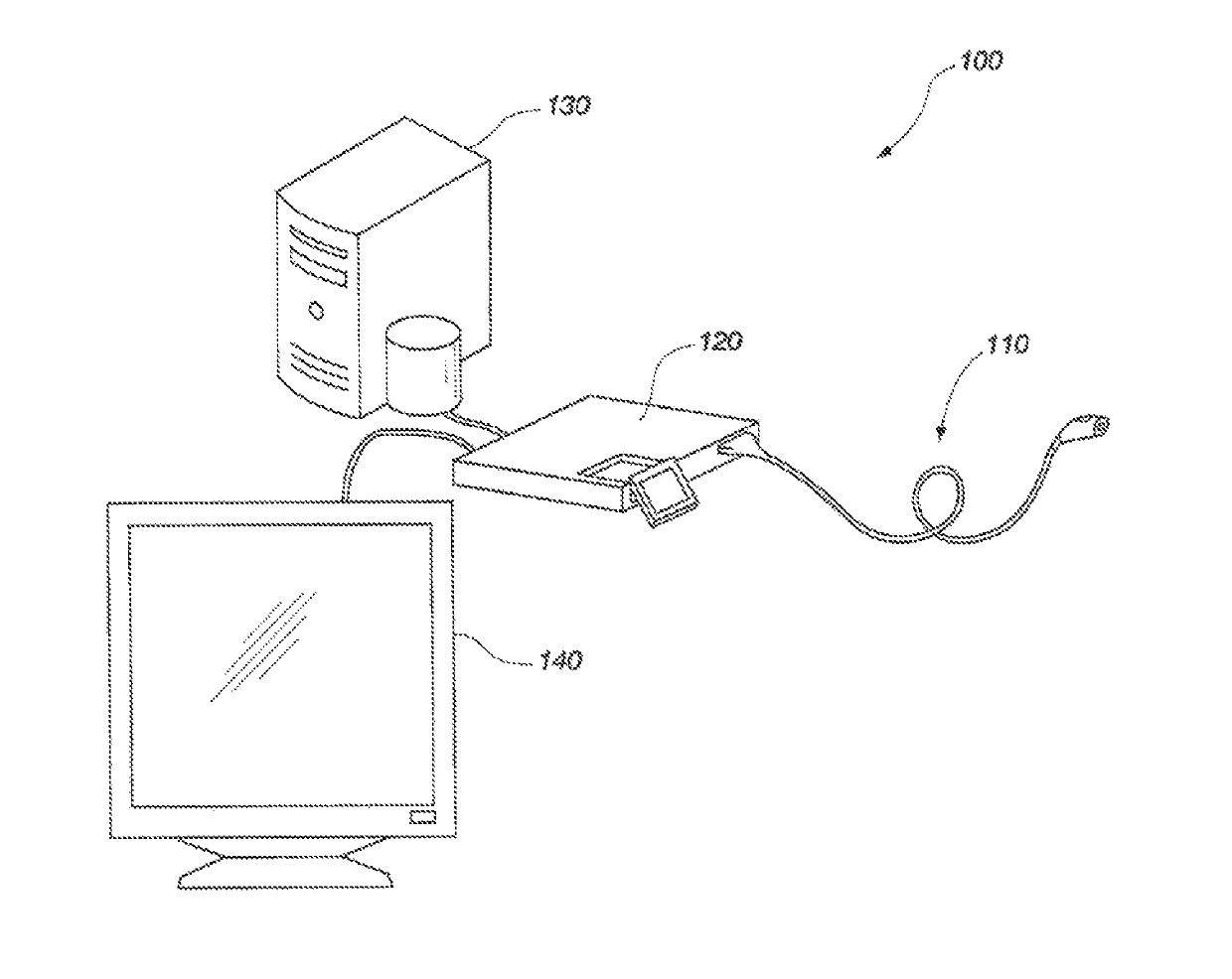
System and method for providing a single use imaging device for medical applications
授权日
2019-09-17
公开(公告)号
US10413165
申请日
2015-03-02
公开(公告)日
2019-09-17
当前申请(专利权)人
DEPUY SYNTHES PRODUCTS, INC.
发明人
TALBERT, JOSHUA D. | HENLEY, JEREMIAH D. | WICHERN, DONALD M. | WICHERN, CURTIS L.
简单同族
AU2011230538A1 | AU2011230538B2 | BR112012024237A2 | CA2793147A1 | CN102823232A | CN109905669A | EP2550799A1 | EP2550799A4 | HK1176491A | HK40010236A | IL222036A | JP2013524873A | JP2013524873A5 | JP6165624B2 | KR101855158B1 | KR1020130038205A | MX2012010981A | MX319106B | US10413165 | US20110238977A1 | US20150242581A1 | US20190261838A1 | US8972714 | WO2011120014A1
简单同族成员数量
24
简单同族被引用专利总数
39
诉讼案件数
0
法律状态/事件
授权 | 权利转移
抱歉,您的浏览器不支持PDF预览,请点击链接下载PDF文件