专利数据库
统计分析
产业报告
专利数据监控
产业人才
行业动态
产业政策法规
维权援助
个人中心
详情
文本
图像
标题
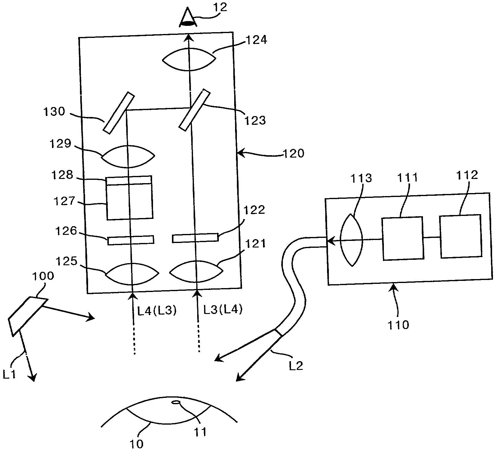
Sentinel lymph node detection method and system therefor
授权日
1900-01-01
公开(公告)号
US20020013531A1
申请日
2001-04-25
公开(公告)日
2002-01-31
当前申请(专利权)人
FUJIFILM CORPORATION
发明人
HAYASHI, KATSUMI
简单同族
DE60123514D1 | DE60123514T2 | EP1149591A2 | EP1149591A3 | EP1149591B1 | JP2001299676A | US20020013531A1 | US6804549
简单同族成员数量
8
简单同族被引用专利总数
201
诉讼案件数
0
法律状态/事件
授权 | 权利转移
抱歉,您的浏览器不支持PDF预览,请点击链接下载PDF文件