专利数据库
统计分析
产业报告
专利数据监控
产业人才
行业动态
产业政策法规
维权援助
个人中心
详情
文本
图像
标题
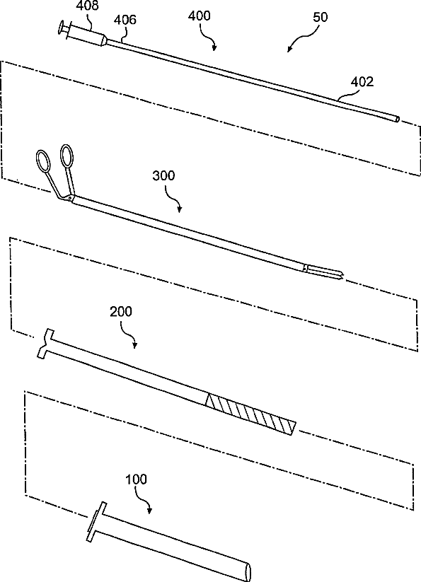
Instruments and methods for use in laparoscopic surgery
授权日
1900-01-01
公开(公告)号
US20020137988A1
申请日
2002-01-15
公开(公告)日
2002-09-26
当前申请(专利权)人
LOGUIDICE, MARK
发明人
SHIPP, JOHN I. | WHITE, JEFFREY P.
简单同族
AU2002235320A1 | US20020137988A1 | US6958069 | WO2002056754A2 | WO2002056754A3
简单同族成员数量
5
简单同族被引用专利总数
87
诉讼案件数
0
法律状态/事件
未缴年费 | 质押 | 权利转移
抱歉,您的浏览器不支持PDF预览,请点击链接下载PDF文件