专利数据库
统计分析
产业报告
专利数据监控
产业人才
行业动态
产业政策法规
维权援助
个人中心
详情
文本
图像
标题
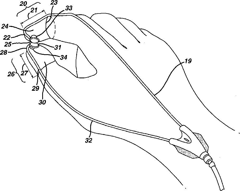
Finger tip electrosurgical medical device
授权日
1900-01-01
公开(公告)号
US20040260281A1
申请日
2003-09-10
公开(公告)日
2004-12-23
当前申请(专利权)人
ETHICON ENDO-SURGERY, INC.
发明人
BAXTER, CHESTER O. III | FALLER, CRAIG N. | HOUSER, KEVIN L. | GUTIERREZ, JORGE | DONOFRIO, WILLIAM T. | MORGAN, JEROME R. | VAITEKUNAS, JEFFREY J. | JOHNSON, GREGORY W. | VANDRAKE, VANCE III
简单同族
AU2003270806A1 | AU2009200197A1 | AU2009200197B2 | CA2499563A1 | CN100417365C | CN1681447A | EP1551322A2 | EP1551322A4 | JP2006517422A | US20040260281A1 | US20070093807A1 | WO2004026108A2 | WO2004026108A3
简单同族成员数量
13
简单同族被引用专利总数
268
诉讼案件数
0
法律状态/事件
撤回 | 权利转移
抱歉,您的浏览器不支持PDF预览,请点击链接下载PDF文件