专利数据库
统计分析
产业报告
专利数据监控
产业人才
行业动态
产业政策法规
维权援助
个人中心
详情
文本
图像
标题
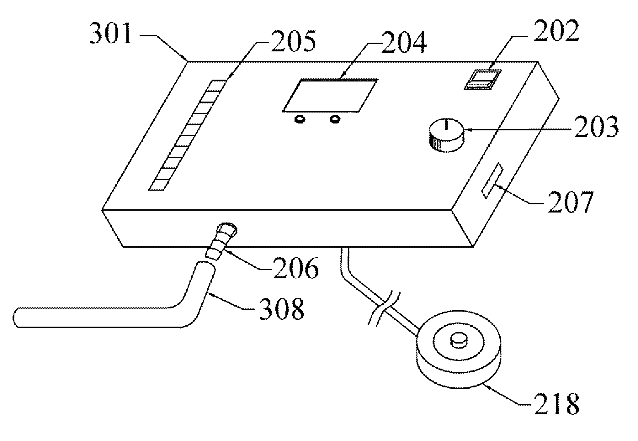
Portable regulated vacuum pump for medical procedures
授权日
1900-01-01
公开(公告)号
US20100185048A1
申请日
2010-01-20
公开(公告)日
2010-07-22
当前申请(专利权)人
MEDITECH DEVELOPMENT INCORPORATED
发明人
LONKY, NEAL MARC | GURGANIAN, ALBERT STEVE
简单同族
US20100185048A1 | US20130317302A1 | US8409214 | US9138216
简单同族成员数量
4
简单同族被引用专利总数
25
诉讼案件数
0
法律状态/事件
授权 | 权利转移
抱歉,您的浏览器不支持PDF预览,请点击链接下载PDF文件