专利数据库
统计分析
产业报告
专利数据监控
产业人才
行业动态
产业政策法规
维权援助
个人中心
详情
文本
图像
标题
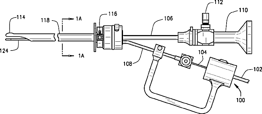
Laser surgery device and method
授权日
1900-01-01
公开(公告)号
US20120130358A1
申请日
2010-07-09
公开(公告)日
2012-05-24
当前申请(专利权)人
CISEL, BRIAN
发明人
CISEL, BRIAN | WILLEY, HARLEY MICHAEL | SALAMAT, ARASH TOM | OCHOA, ARNOLD | HASTY, ROBERT ALAN | WILKINSON, MIKE
简单同族
US20120130358A1 | US20170056111A1 | US9492231 | WO2011008646A1
简单同族成员数量
4
简单同族被引用专利总数
27
诉讼案件数
0
法律状态/事件
授权 | 权利转移
抱歉,您的浏览器不支持PDF预览,请点击链接下载PDF文件