专利数据库
统计分析
产业报告
专利数据监控
产业人才
行业动态
产业政策法规
维权援助
个人中心
详情
文本
图像
标题
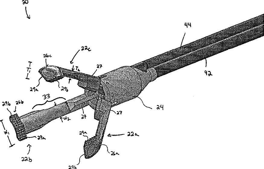
Laparoscopic device with three jaws
授权日
1900-01-01
公开(公告)号
US20130085494A1
申请日
2011-09-30
公开(公告)日
2013-04-04
当前申请(专利权)人
ETHICON ENDO-SURGERY, INC.
发明人
WEISENBURGH, II, WILLIAM B. | BAKOS, GREGORY J. | VAKHARIA, OMAR J. | STEFANCHIK, DAVID
简单同族
US20130085494A1 | US9168051
简单同族成员数量
2
简单同族被引用专利总数
22
诉讼案件数
0
法律状态/事件
授权 | 权利转移
抱歉,您的浏览器不支持PDF预览,请点击链接下载PDF文件