专利数据库
统计分析
产业报告
专利数据监控
产业人才
行业动态
产业政策法规
维权援助
个人中心
详情
文本
图像
标题
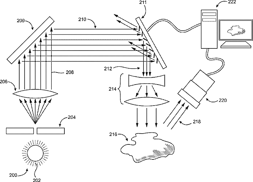
Digital light processing hyperspectral imaging apparatus
授权日
1900-01-01
公开(公告)号
US20130296709A1
申请日
2013-02-25
公开(公告)日
2013-11-07
当前申请(专利权)人
BOARD OF REGENTS, THE UNIVERSITY OF TEXAS SYSTEM
发明人
ZUZAK, KAREL J. | CADEDDU, JEFFREY A. | UFRET-VINCENTY, RAFAEL | FRANCIS, ROBERT P. | LIVINGSTON, EDWARD
简单同族
US20100056928A1 | US20130296708A1 | US20130296709A1 | US20130296710A1 | US8406859 | US9198578 | US9622662 | WO2010019515A2 | WO2010019515A3 | WO2010019515A8
简单同族成员数量
10
简单同族被引用专利总数
372
诉讼案件数
0
法律状态/事件
授权
抱歉,您的浏览器不支持PDF预览,请点击链接下载PDF文件