专利数据库
统计分析
产业报告
专利数据监控
产业人才
行业动态
产业政策法规
维权援助
个人中心
详情
文本
图像
标题
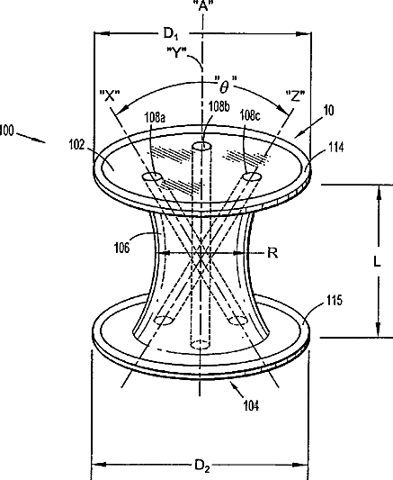
Seal anchor with non-parallel lumens
授权日
1900-01-01
公开(公告)号
US20140221758A1
申请日
2014-04-09
公开(公告)日
2014-08-07
当前申请(专利权)人
COVIDIEN LP
发明人
OKONIEWSKI, GREGORY
简单同族
AU2010226928A1 | AU2010226928B2 | CA2716060A1 | CA2716060C | CN102028508A | CN102028508B | EP2305150A1 | EP2420193A1 | EP2420193B1 | ES2649945T3 | JP2011072795A | JP2015057124A | JP5662097B2 | US10532168 | US20110082343A1 | US20130245373A1 | US20140221757A1 | US20140221758A1 | US20150105628A1 | US20170340842A1 | US8932212 | US8932213 | US9017250 | US9744317
简单同族成员数量
24
简单同族被引用专利总数
58
诉讼案件数
0
法律状态/事件
授权 | 权利转移
抱歉,您的浏览器不支持PDF预览,请点击链接下载PDF文件