专利数据库
统计分析
产业报告
专利数据监控
产业人才
行业动态
产业政策法规
维权援助
个人中心
详情
文本
图像
标题
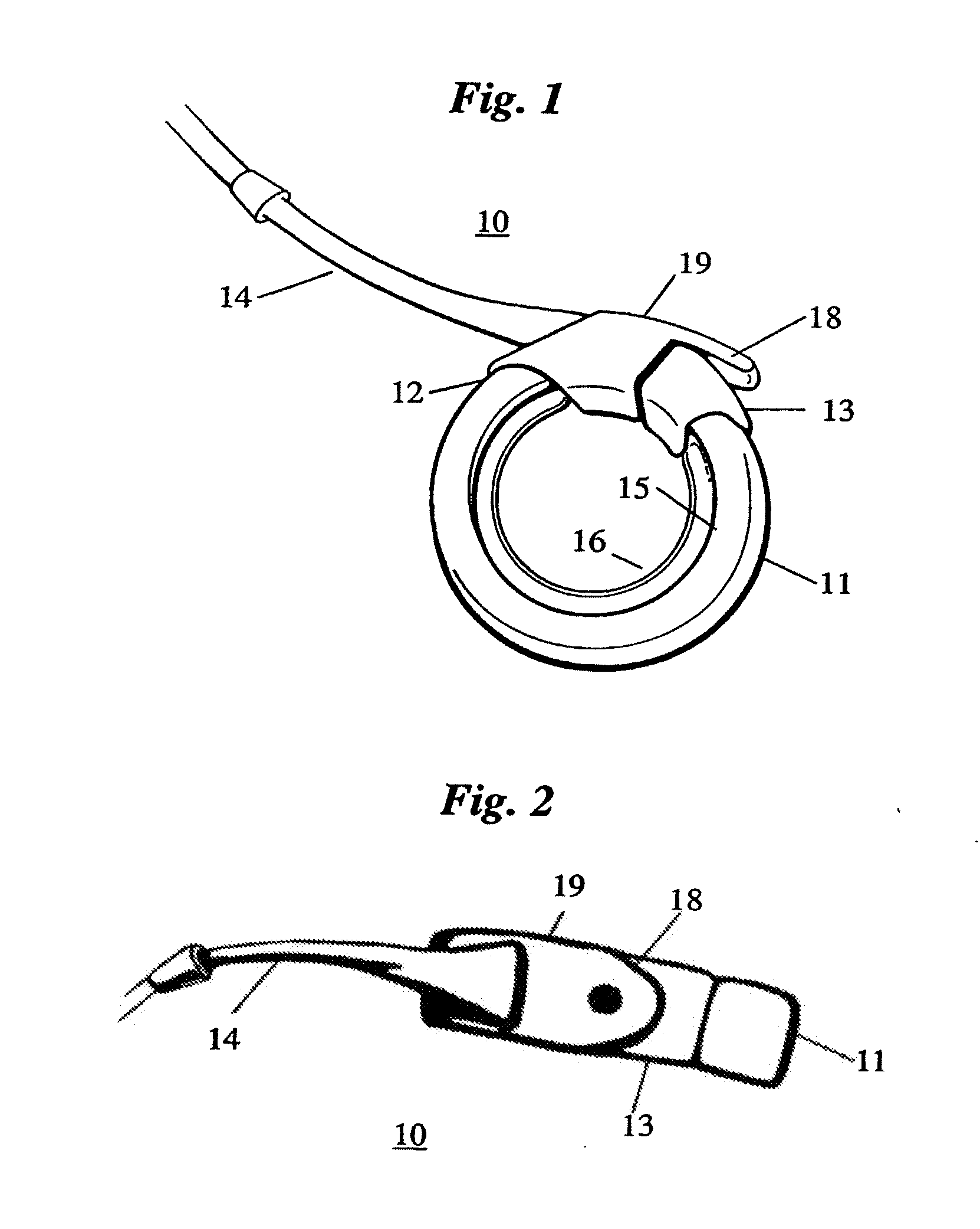
Remotely adjustable gastric banding device
授权日
1900-01-01
公开(公告)号
US20090182356A1
申请日
2008-03-03
公开(公告)日
2009-07-16
当前申请(专利权)人
COE FREDERICK L
发明人
COE, FREDERICK L.
简单同族
US20050250979A1 | US20090182356A1 | US20120215062A1 | US7338433 | US8845513
简单同族成员数量
5
简单同族被引用专利总数
242
诉讼案件数
0
法律状态/事件
撤回
抱歉,您的浏览器不支持PDF预览,请点击链接下载PDF文件