专利数据库
统计分析
产业报告
专利数据监控
产业人才
行业动态
产业政策法规
维权援助
个人中心
详情
文本
图像
标题
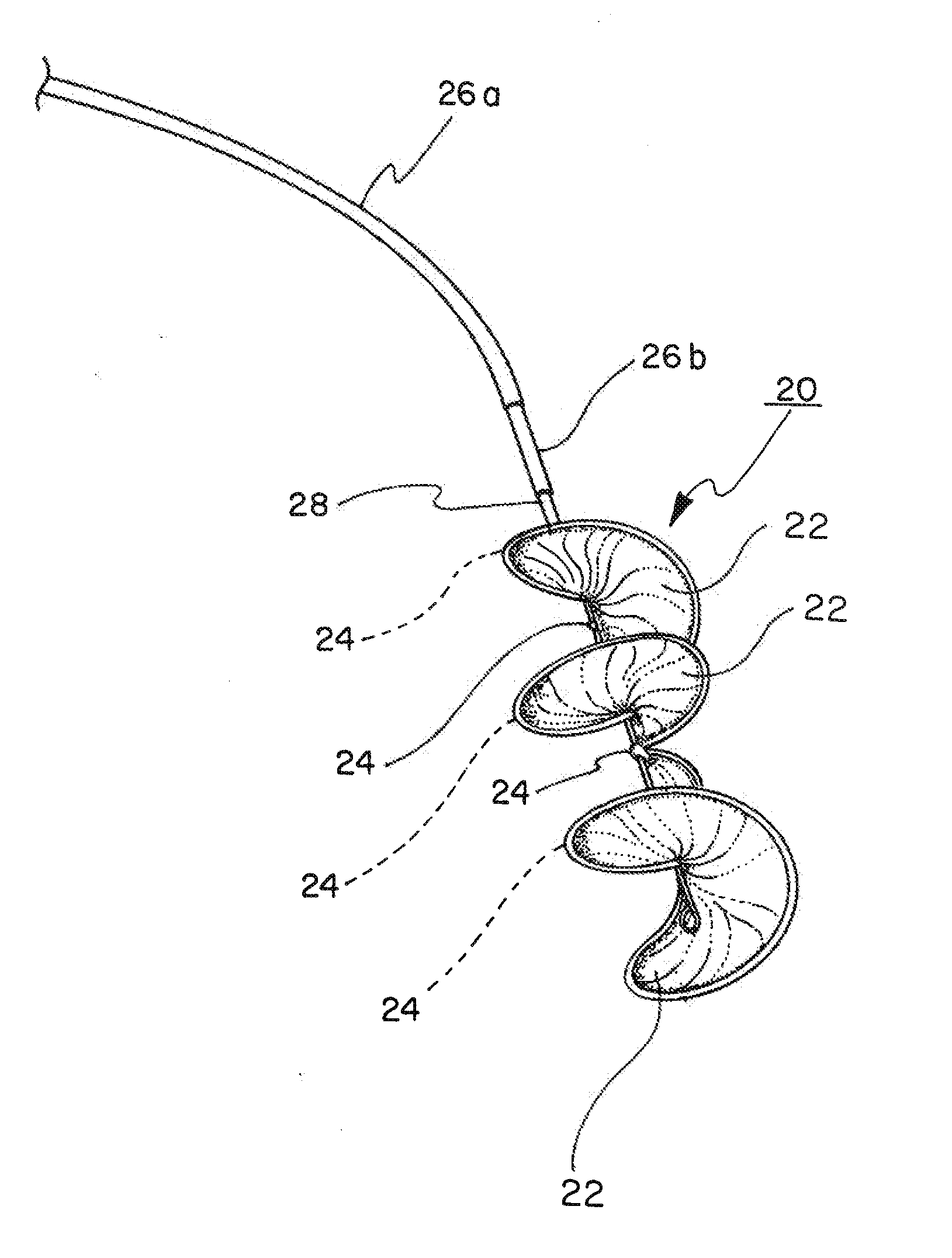
Implantable product with improved aqueous interface characteristics and method for making and using the same
授权日
1900-01-01
公开(公告)号
US20110082536A1
申请日
2010-12-13
公开(公告)日
2011-04-07
当前申请(专利权)人
W. L. GORE & ASSOCIATES, INC.
发明人
COOK, ALONZO D. | CUTRIGHT, WARREN J. | KRALL, ROBERT C. | MONTGOMERY, WILLIAM D.
简单同族
AU2003238786A1 | CA2487796A1 | CA2487796C | DE60336391D1 | EP1511523A1 | EP1511523B1 | JP2005527330A | US20030225439A1 | US20050129735A1 | US20080213463A1 | US20110082536A1 | US20130172980A1 | US20170042705A1 | US7871659 | WO2003101505A1
简单同族成员数量
15
简单同族被引用专利总数
64
诉讼案件数
0
法律状态/事件
撤回 | 权利转移
抱歉,您的浏览器不支持PDF预览,请点击链接下载PDF文件