专利数据库
统计分析
产业报告
专利数据监控
产业人才
行业动态
产业政策法规
维权援助
个人中心
详情
文本
图像
标题
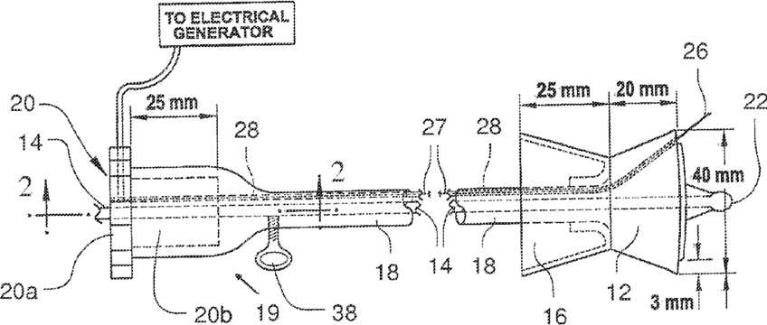
Electrosurgical element and uterine manipulator for total laparoscopic hysterectomy
授权日
1900-01-01
公开(公告)号
US20120109124A1
申请日
2010-06-09
公开(公告)日
2012-05-03
当前申请(专利权)人
UNIVERSITY OF MARYLAND, BALTIMORE
发明人
MOROZOV, VADIM
简单同族
AU2010263101A1 | CA2766548A1 | CA2766548C | EP2445435A2 | EP2445435A4 | EP2445435B1 | EP3345558A1 | ES2643464T3 | US10383678 | US20120109124A1 | US20150257822A1 | US9033977 | WO2010151429A2 | WO2010151429A3
简单同族成员数量
14
简单同族被引用专利总数
51
诉讼案件数
0
法律状态/事件
授权 | 权利转移
抱歉,您的浏览器不支持PDF预览,请点击链接下载PDF文件