专利数据库
统计分析
产业报告
专利数据监控
产业人才
行业动态
产业政策法规
维权援助
个人中心
详情
文本
图像
标题
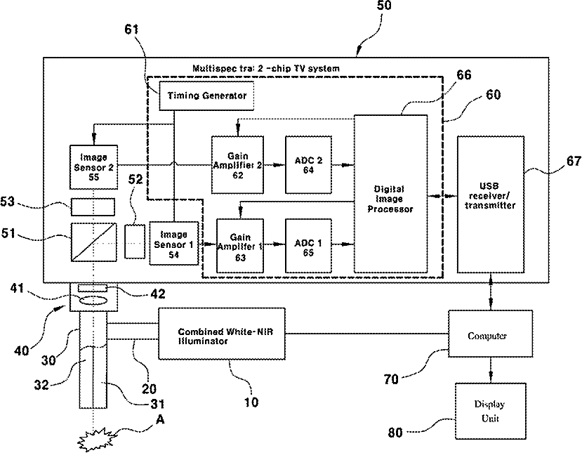
Apparatus and method for detecting NIR fluorescence at sentinel lymph node
授权日
1900-01-01
公开(公告)号
US20150018690A1
申请日
2014-07-10
公开(公告)日
2015-01-15
当前申请(专利权)人
INTHESMART CO. LTD.
发明人
KANG, UK | PAPAYAN, GARRY V.
简单同族
CN104274156A | CN104274156B | GB201411868D0 | GB2517287A | GB2517287B | JP2015016332A | JP5925251B2 | KR101514204B1 | KR1020150007679A | US10111614 | US20150018690A1 | US20180020965A1 | US9795338
简单同族成员数量
13
简单同族被引用专利总数
48
诉讼案件数
0
法律状态/事件
授权 | 权利转移
抱歉,您的浏览器不支持PDF预览,请点击链接下载PDF文件