专利数据库
统计分析
产业报告
专利数据监控
产业人才
行业动态
产业政策法规
维权援助
个人中心
详情
文本
图像
标题
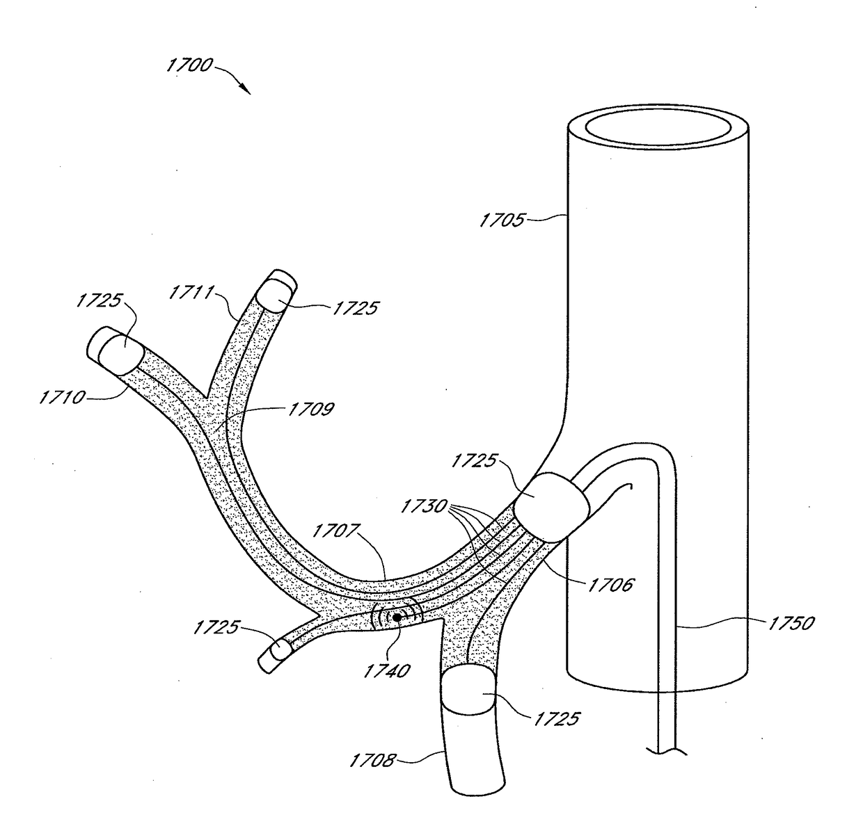
Neuromodulation for metabolic conditions or syndromes
授权日
1900-01-01
公开(公告)号
US20190069942A1
申请日
2018-09-06
公开(公告)日
2019-03-07
当前申请(专利权)人
METAVENTION, INC.
发明人
AZAMIAN, BOBAK ROBERT | COE, JONATHAN ALLEN | VAFAI, SCOTT BRADLEY
简单同族
AU2012347470A1 | AU2012347470B2 | AU2017202821A1 | AU2017202821B2 | AU2019201729A1 | CA2856732A1 | CN104254366A | CN104254366B | CN107080561A | EP2788078A1 | EP2788078A4 | IL232808A | IL232808D0 | JP2015502820A | JP2015502820A5 | JP6441679B2 | KR1020140113674A | KR102067583B1 | NZ625695A | NZ625695B | SG11201402610QA | US10064674 | US10070911 | US10543034 | US10617460 | US20130178910A1 | US20130190748A1 | US20140052121A1 | US20140052122A1 | US20140066883A1 | US20140066916A1 | US20140066919A1 | US20140066920A1 | US20140066921A1 | US20140066922A1 | US20140066923A1 | US20140066924A1 | US20140257263A1 | US20140296849A1 | US20150011989A1 | US20150032085A1 | US20150056298A1 | US20150112332A1 | US20160051465A1 | US20160120597A1 | US20160262821A1 | US20190059969A1 | US20190069942A1 | US20190388132A1 | US8568399 | US8579891 | US8728069 | US8728070 | US8758334 | US8876815 | US8894639 | US9005190 | US9005191 | US9011422 | US9033969 | US9060784 | US9089541 | US9089542 | US9114123 | US9114124 | US9149329 | US9265575 | US9999461 | WO2013086461A1
简单同族成员数量
69
简单同族被引用专利总数
210
诉讼案件数
0
法律状态/事件
实质审查
抱歉,您的浏览器不支持PDF预览,请点击链接下载PDF文件