专利数据库
统计分析
产业报告
专利数据监控
产业人才
行业动态
产业政策法规
维权援助
个人中心
详情
文本
图像
标题
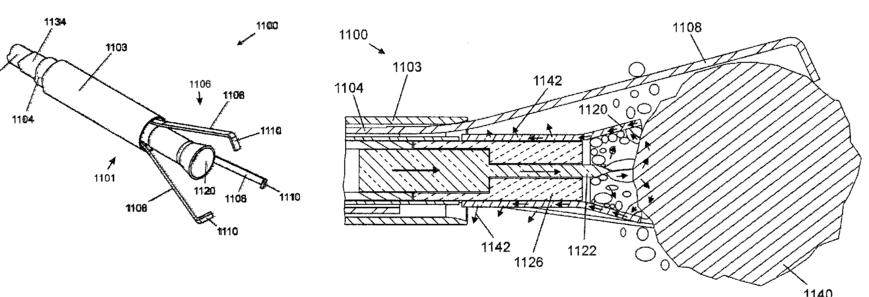
Electrosurgical device having floating-potential electrode for obstruction removal
授权日
2014-07-29
公开(公告)号
US8790340
申请日
2012-06-11
公开(公告)日
2014-07-29
当前申请(专利权)人
ELECTROMEDICAL ASSOCIATES, LLC
发明人
VAN WYK, ROBERT A. | CARMEL, YUVAL | SHKVARUNETS, ANATOLY
简单同族
EP2077786A2 | EP2077786B1 | EP2705804A1 | US20080077129A1 | US20120203221A1 | US20120239033A1 | US20120245578A1 | US20130079773A1 | US8177784 | US8348944 | US8486064 | US8790340 | WO2008039746A2 | WO2008039746A3
简单同族成员数量
14
简单同族被引用专利总数
81
诉讼案件数
0
法律状态/事件
未缴年费 | 权利转移
抱歉,您的浏览器不支持PDF预览,请点击链接下载PDF文件