专利数据库
统计分析
产业报告
专利数据监控
产业人才
行业动态
产业政策法规
维权援助
个人中心
详情
文本
图像
标题
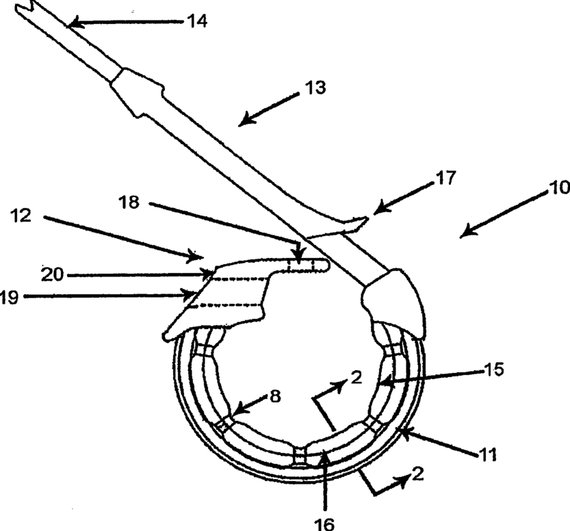
Fatigue-resistant gastric banding device
授权日
1900-01-01
公开(公告)号
US20100324359A1
申请日
2010-08-05
公开(公告)日
2010-12-23
当前申请(专利权)人
APOLLO ENDOSURGERY US, INC.
发明人
BIRK, JANEL
简单同族
AT458445T | AU2003262871A1 | AU2003262871B2 | AU2008202358A1 | AU2008202358B2 | AU2010202098A1 | AU2010202098B2 | BRPI0306183A2 | DE60331457D1 | DK1553878T3 | EP1553878A2 | EP1553878A4 | EP1553878B1 | EP2181655A1 | EP2181655B1 | ES2339009T3 | ES2617452T3 | HK1074986A | HK1074986A1 | IL167120A | MXPA05002361A | NO20051549A | NO20051549L | NO328912B1 | US20050192531A1 | US20100324359A1 | US7811298 | US8382780 | WO2004019671A2 | WO2004019671A3
简单同族成员数量
30
简单同族被引用专利总数
178
诉讼案件数
0
法律状态/事件
授权 | 质押 | 权利转移
抱歉,您的浏览器不支持PDF预览,请点击链接下载PDF文件