专利数据库
统计分析
产业报告
专利数据监控
产业人才
行业动态
产业政策法规
维权援助
个人中心
详情
文本
图像
标题
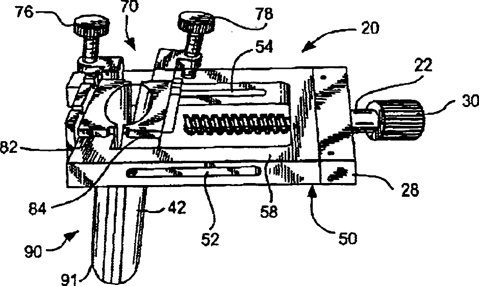
Surgical procedure and apparatus
授权日
2004-03-30
公开(公告)号
US6712795
申请日
2002-06-07
公开(公告)日
2004-03-30
当前申请(专利权)人
COHEN LESTER
发明人
COHEN, LESTER
简单同族
US6712795
简单同族成员数量
1
简单同族被引用专利总数
121
诉讼案件数
0
法律状态/事件
未缴年费
抱歉,您的浏览器不支持PDF预览,请点击链接下载PDF文件