专利数据库
统计分析
产业报告
专利数据监控
产业人才
行业动态
产业政策法规
维权援助
个人中心
详情
文本
图像
标题
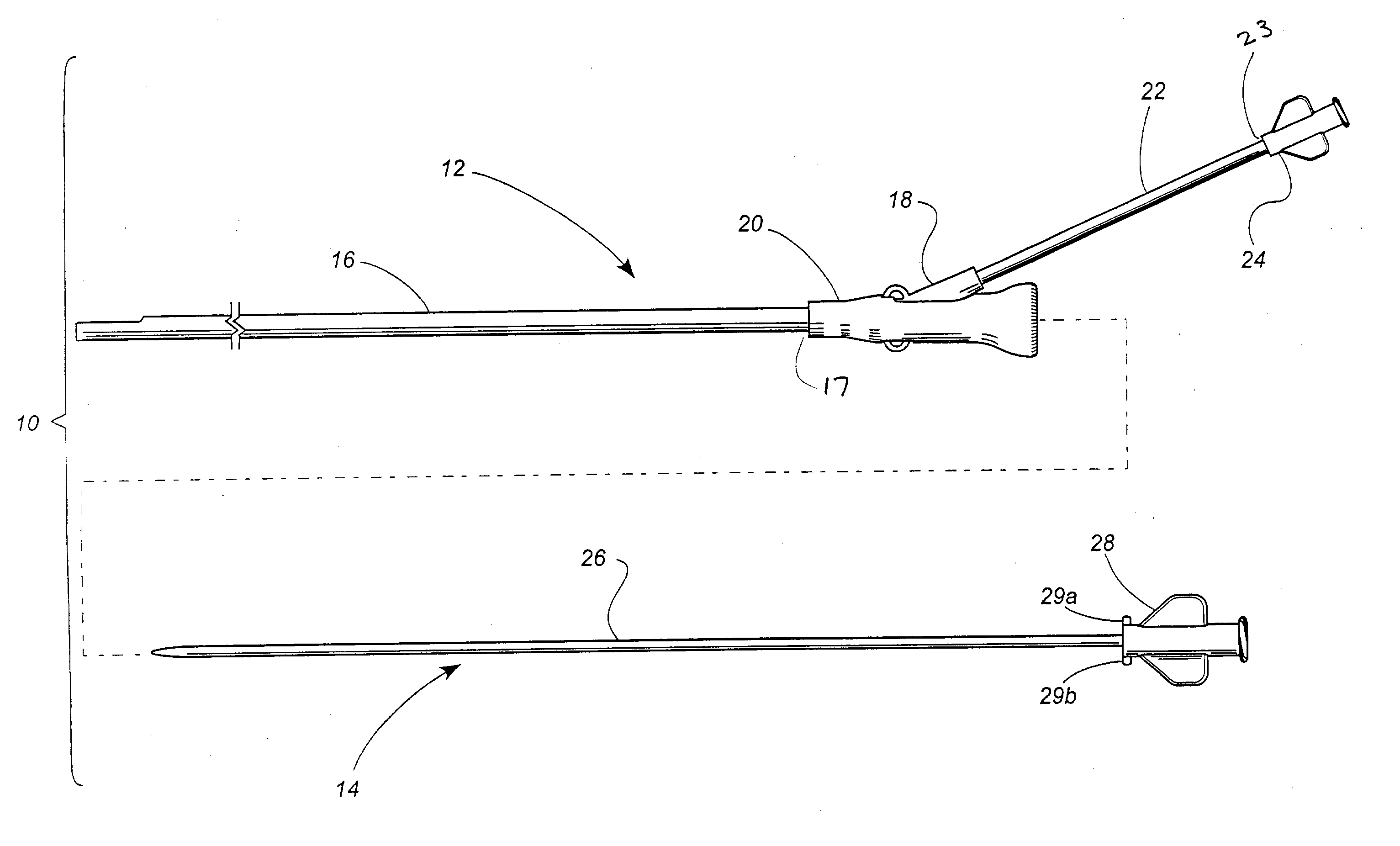
Ureteral access sheath
授权日
1900-01-01
公开(公告)号
US20040204629A1
申请日
2003-04-08
公开(公告)日
2004-10-14
当前申请(专利权)人
C.R. BARD, INC.
发明人
KNAPP, TRACEY E.
简单同族
EP1615542A1 | JP2006522657A | JP4718450B2 | US20040204629A1 | US20040267213A1 | US20140088518A1 | US20150099930A1 | US20160206304A1 | US7654989 | US8597261 | US8911415 | US9295811 | WO2004091385A1 | WO2004091385B1
简单同族成员数量
14
简单同族被引用专利总数
134
诉讼案件数
0
法律状态/事件
授权 | 权利转移
抱歉,您的浏览器不支持PDF预览,请点击链接下载PDF文件