专利数据库
统计分析
产业报告
专利数据监控
产业人才
行业动态
产业政策法规
维权援助
个人中心
详情
文本
图像
标题
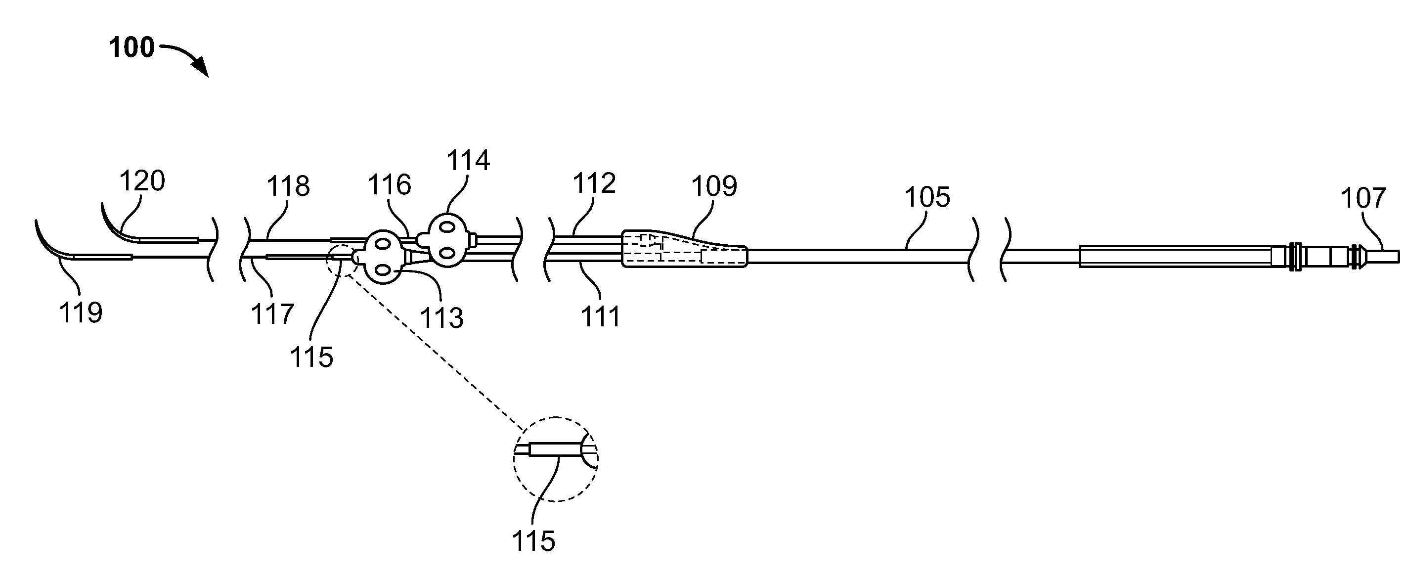
Implantable Electrical Stimulation Leads
授权日
1900-01-01
公开(公告)号
US20140243593A1
申请日
2014-02-26
公开(公告)日
2014-08-28
当前申请(专利权)人
ENDOSTIM, INC.
发明人
GOODE, PAUL V. | GLASBERG, OFER | SHARMA, VIRENDER K.
简单同族
US20140243593A1 | US20170128716A1 | US9498619
简单同族成员数量
3
简单同族被引用专利总数
35
诉讼案件数
0
法律状态/事件
授权 | 权利转移
抱歉,您的浏览器不支持PDF预览,请点击链接下载PDF文件