专利数据库
统计分析
产业报告
专利数据监控
产业人才
行业动态
产业政策法规
维权援助
个人中心
详情
文本
图像
标题
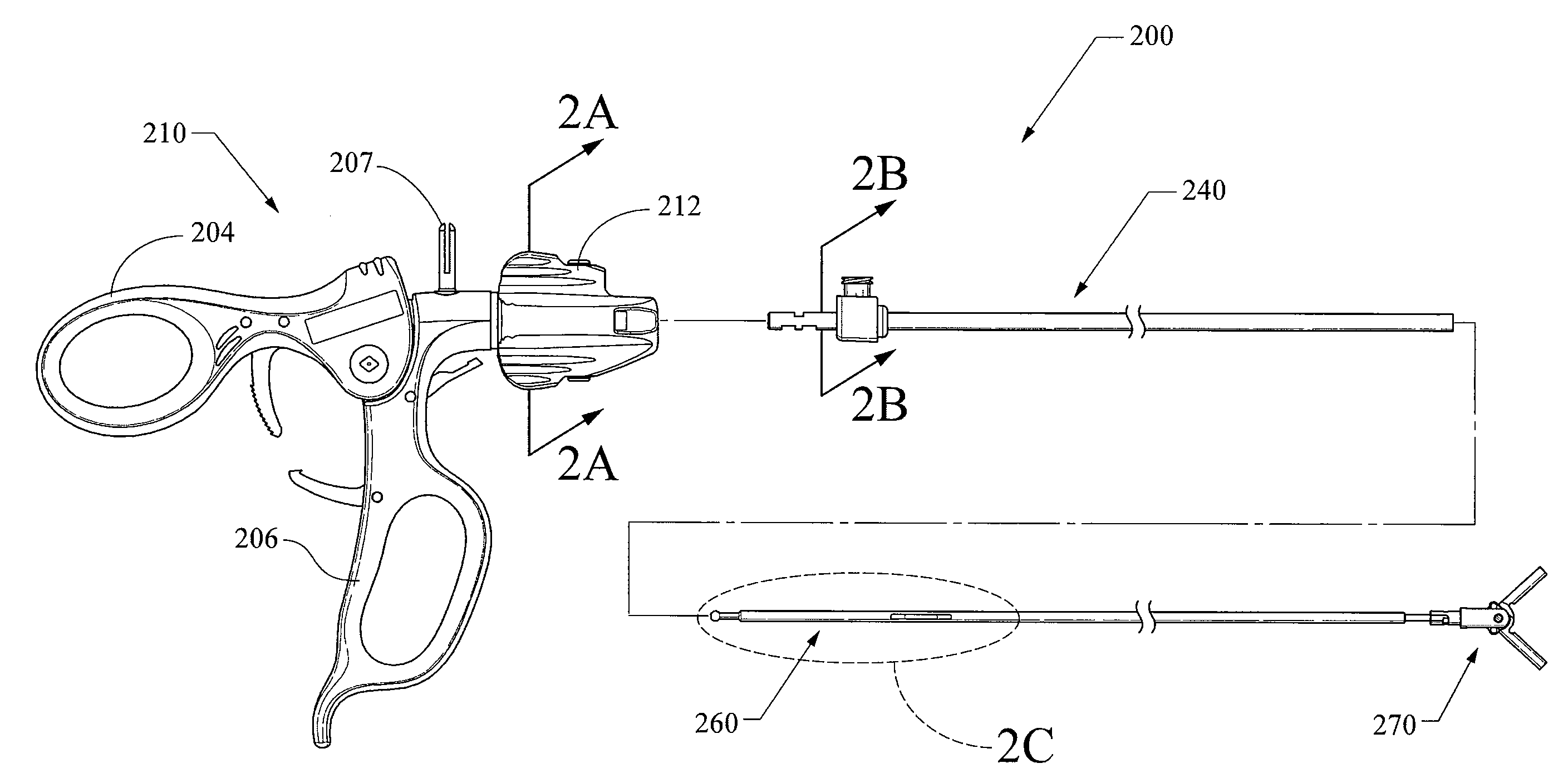
Surgical device with reusable handle
授权日
1900-01-01
公开(公告)号
US20110306952A1
申请日
2010-06-10
公开(公告)日
2011-12-15
当前申请(专利权)人
CAREFUSION 2200, INC.
发明人
CHEN, HOW-LUN | CRUMLEY, JESSE | LEONARD, ROBERT F.
简单同族
AU2011264541A1 | AU2011264541B2 | BR112012031391A2 | CA2802066A1 | CA2802066C | CN102939053A | CN102939053B | EP2579790A1 | EP2579790B1 | KR101779635B1 | KR1020130127906A | MX2012014360A | MX344201B | RU2013100173A | RU2557912C2 | US20110306952A1 | US8956341 | WO2011156168A1
简单同族成员数量
18
简单同族被引用专利总数
54
诉讼案件数
0
法律状态/事件
授权 | 权利转移
抱歉,您的浏览器不支持PDF预览,请点击链接下载PDF文件