专利数据库
统计分析
产业报告
专利数据监控
产业人才
行业动态
产业政策法规
维权援助
个人中心
详情
文本
图像
标题
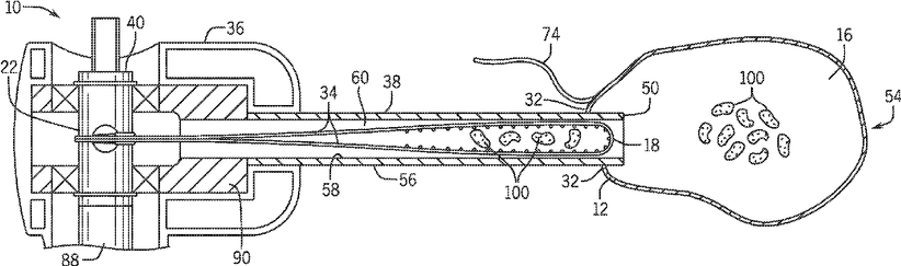
System and method for laparoscopic morcellator
授权日
1900-01-01
公开(公告)号
US20160030073A1
申请日
2014-03-05
公开(公告)日
2016-02-04
当前申请(专利权)人
PRESIDENT AND FELLOWS OF HARVARD COLLEGE | THE BRIGHAM AND WOMEN'S HOSPITAL
发明人
ISAKOV, ALEXANDER | MURDAUGH, KIMBERLY | BURKE, WILLIAM | EINARSSON, JON | WALSH, CONOR
简单同族
US10258364 | US20160030073A1 | US20190365407A1 | WO2014158880A1
简单同族成员数量
4
简单同族被引用专利总数
26
诉讼案件数
0
法律状态/事件
授权 | 权利转移
抱歉,您的浏览器不支持PDF预览,请点击链接下载PDF文件