专利数据库
统计分析
产业报告
专利数据监控
产业人才
行业动态
产业政策法规
维权援助
个人中心
详情
文本
图像
标题
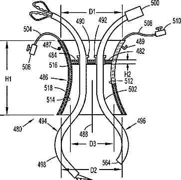
Laparoscopic instrument and related surgical method
授权日
2014-07-01
公开(公告)号
US8764765
申请日
2009-08-31
公开(公告)日
2014-07-01
当前申请(专利权)人
COVIDIEN LP
发明人
PISKUN, GREGORY | SHIKHMAN, OLEG | KONIK, ANATOLY | ROTTENBERG, DAN | BATTLES, CHRISTOPHER | ABRAMS, MICHAEL | RADZIUNAS, JEFFREY | FERREIRA, DANIAL
简单同族
AT555732T | AU2009213047A1 | AU2009213047B2 | CA2678278A1 | EP2163216A2 | EP2163216A3 | EP2163216B1 | ES2383269T3 | JP2010099460A | JP2015154931A | JP5701491B2 | US20100057121A1 | US20140249574A1 | US8764765
简单同族成员数量
14
简单同族被引用专利总数
67
诉讼案件数
0
法律状态/事件
未缴年费 | 权利转移
抱歉,您的浏览器不支持PDF预览,请点击链接下载PDF文件