专利数据库
统计分析
产业报告
专利数据监控
产业人才
行业动态
产业政策法规
维权援助
个人中心
详情
文本
图像
标题
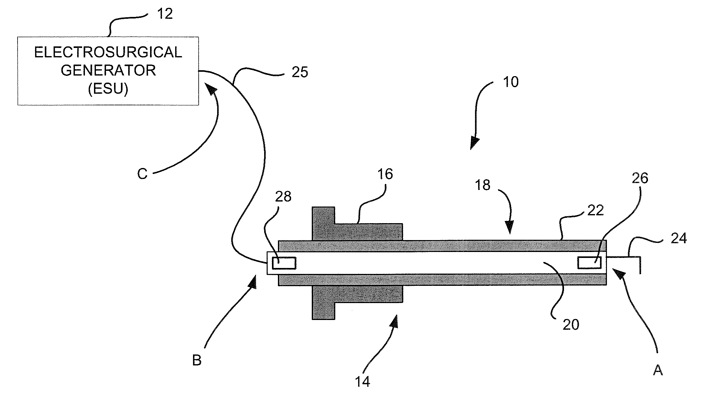
Laparoscopic Electrosurgical Electrical Leakage Detection
授权日
1900-01-01
公开(公告)号
US20090248009A1
申请日
2008-03-27
公开(公告)日
2009-10-01
当前申请(专利权)人
APYX MEDICAL CORPORATION
发明人
ZORAN, ARIK
简单同族
US20090248009A1 | US20120123408A1 | US8100897 | US8226640
简单同族成员数量
4
简单同族被引用专利总数
23
诉讼案件数
0
法律状态/事件
授权 | 权利转移
抱歉,您的浏览器不支持PDF预览,请点击链接下载PDF文件