专利数据库
统计分析
产业报告
专利数据监控
产业人才
行业动态
产业政策法规
维权援助
个人中心
详情
文本
图像
标题
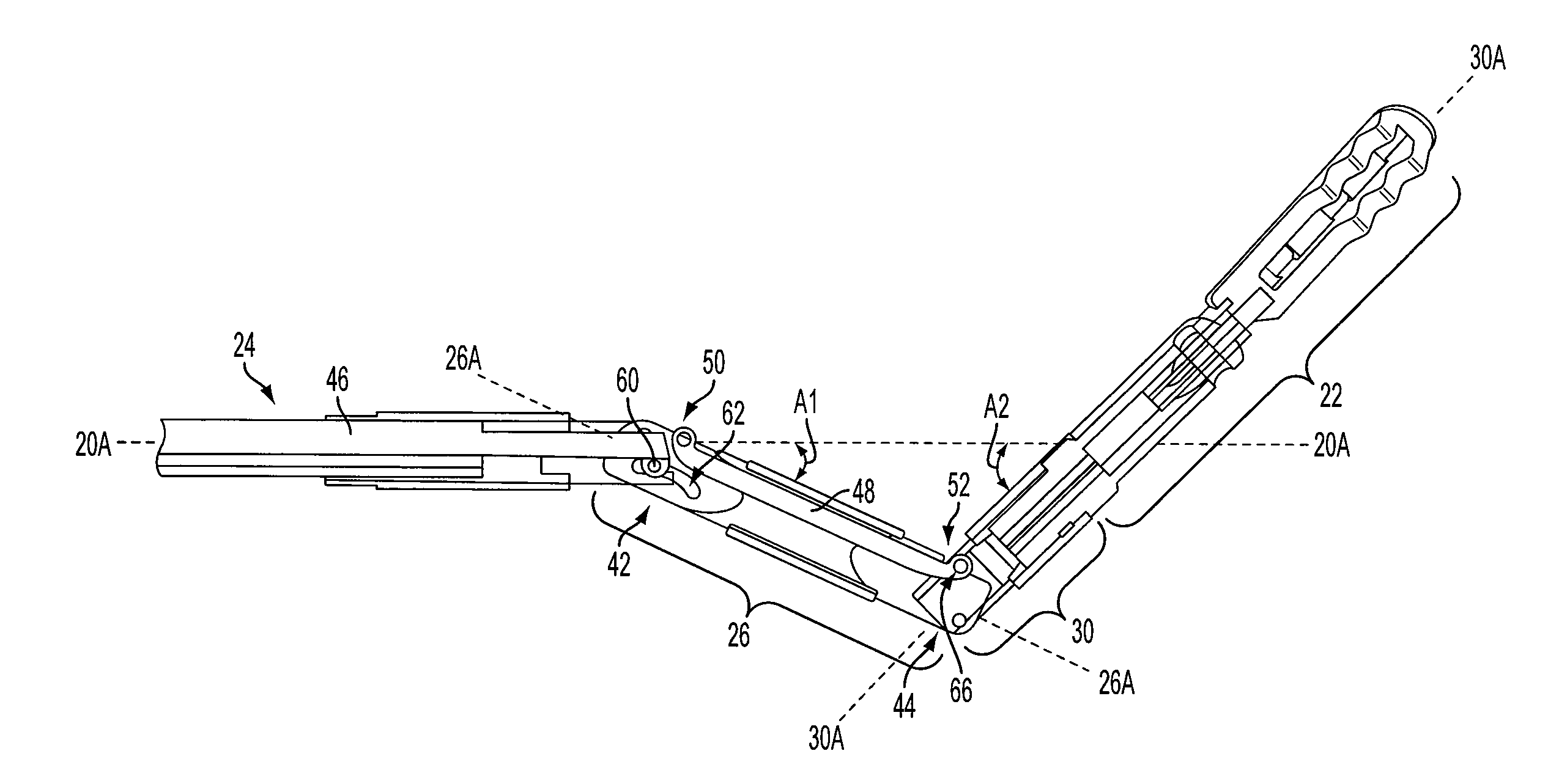
Laparoscopic device with compound angulation
授权日
1900-01-01
公开(公告)号
US20110087236A1
申请日
2010-05-07
公开(公告)日
2011-04-14
当前申请(专利权)人
ETHICON ENDO-SURGERY, INC.
发明人
STOKES, MICHAEL J. | HESS, CHRISTOPHER J. | WEISENBURGH, II, WILLIAM B.
简单同族
US20110087236A1 | US20110087269A1 | US9333001 | US9474540
简单同族成员数量
4
简单同族被引用专利总数
243
诉讼案件数
0
法律状态/事件
授权 | 权利转移
抱歉,您的浏览器不支持PDF预览,请点击链接下载PDF文件