专利数据库
统计分析
产业报告
专利数据监控
产业人才
行业动态
产业政策法规
维权援助
个人中心
详情
文本
图像
标题
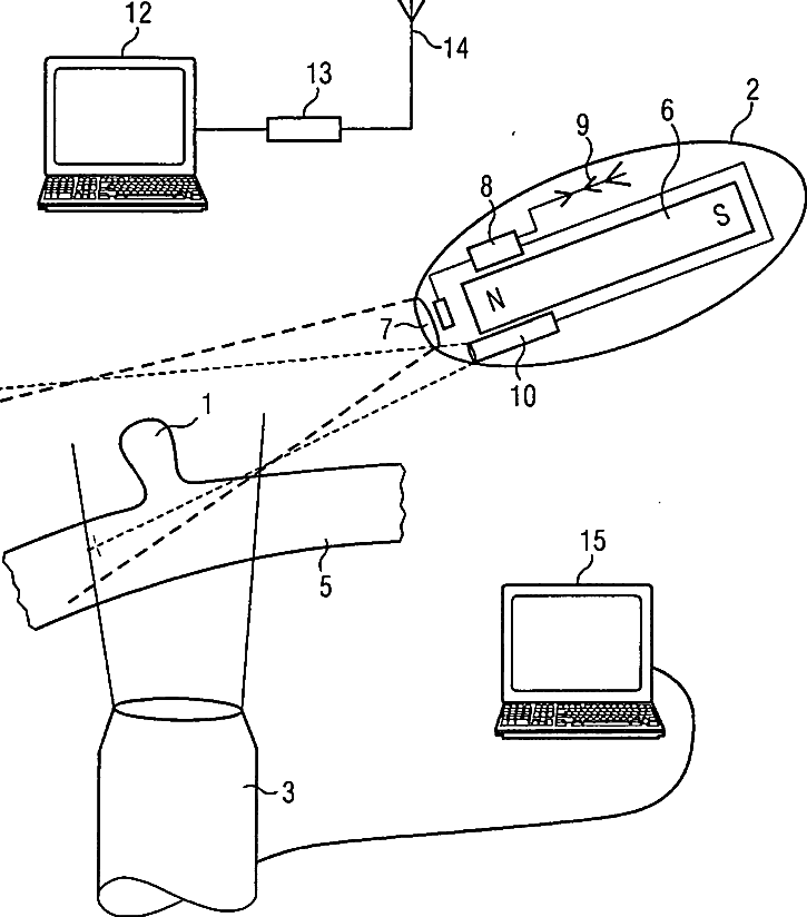
System for locating lesions in hollow organs
授权日
1900-01-01
公开(公告)号
US20050090711A1
申请日
2004-10-22
公开(公告)日
2005-04-28
当前申请(专利权)人
SIEMENS AKTENGESELLSCHAFT
发明人
FUCHS, FRIEDRICH | KUTH, RAINER
简单同族
DE10349659A1 | US20050090711A1
简单同族成员数量
2
简单同族被引用专利总数
21
诉讼案件数
0
法律状态/事件
撤回 | 权利转移
抱歉,您的浏览器不支持PDF预览,请点击链接下载PDF文件