专利数据库
统计分析
产业报告
专利数据监控
产业人才
行业动态
产业政策法规
维权援助
个人中心
详情
文本
图像
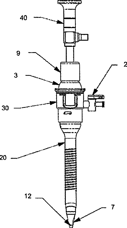
标题
Visual insufflation port
授权日
1900-01-01
公开(公告)号
US20080086074A1
申请日
2007-10-08
公开(公告)日
2008-04-10
当前申请(专利权)人
APPLIED MEDICAL RESOURCES CORPORATION
发明人
TAYLOR, SCOTT V. | BALSCHWEIT, PAUL W. | ALBRECHT, JEREMY J. | JOHNSON, GARY M. | HILAL, SAID S. | FALKENSTEIN, ZORAN
简单同族
AU2007303069A1 | AU2007303069B2 | EP2073717A2 | EP2073717A4 | EP2073717B1 | EP2984993A1 | EP2984993B1 | EP3581116A1 | ES2759549T3 | US20080086074A1 | US20130331731A1 | US20170027609A1 | US20190105078A1 | US8517977 | US9492062 | WO2008043100A2 | WO2008043100A3
简单同族成员数量
17
简单同族被引用专利总数
69
诉讼案件数
0
法律状态/事件
授权 | 质押 | 权利转移
抱歉,您的浏览器不支持PDF预览,请点击链接下载PDF文件