专利数据库
统计分析
产业报告
专利数据监控
产业人才
行业动态
产业政策法规
维权援助
个人中心
详情
文本
图像
标题
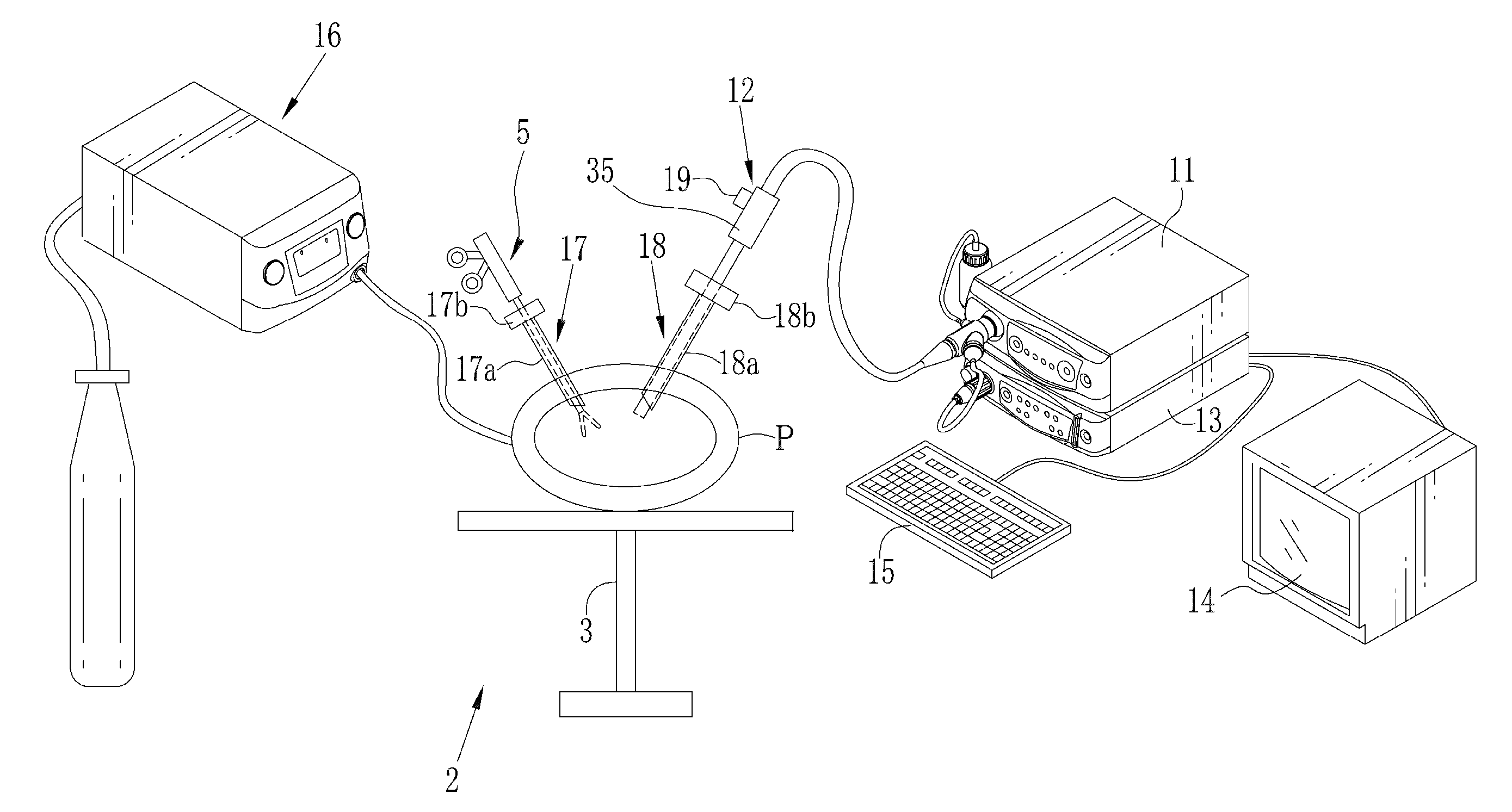
Tissue imaging system and in vivo monitoring method
授权日
1900-01-01
公开(公告)号
US20120289801A1
申请日
2012-05-04
公开(公告)日
2012-11-15
当前申请(专利权)人
FUJIFILM CORPORATION
发明人
YAMAGUCHI, HIROSHI
简单同族
EP2522273A1 | EP2522273B1 | JP2012235926A | JP5642619B2 | US20120289801A1 | US8965474
简单同族成员数量
6
简单同族被引用专利总数
25
诉讼案件数
0
法律状态/事件
授权 | 权利转移
抱歉,您的浏览器不支持PDF预览,请点击链接下载PDF文件