专利数据库
统计分析
产业报告
专利数据监控
产业人才
行业动态
产业政策法规
维权援助
个人中心
详情
文本
图像
标题
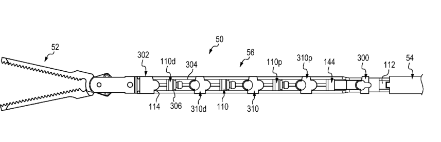
Wrist assembly for articulating laparoscopic surgical instruments
授权日
2017-08-01
公开(公告)号
US9717517
申请日
2015-11-10
公开(公告)日
2017-08-01
当前申请(专利权)人
CAREFUSION 2200, INC.
发明人
STROUP, DAVID KARL | DEPTALA, ARTHUR
简单同族
EP2836139A1 | US20130267936A1 | US20160183960A1 | US9211134 | US9717517 | WO2013154700A1
简单同族成员数量
6
简单同族被引用专利总数
24
诉讼案件数
0
法律状态/事件
授权 | 权利转移
抱歉,您的浏览器不支持PDF预览,请点击链接下载PDF文件